Przejdź do głównej zawartości Przejdź do wyszukiwania Przejdź do głównej nawigacji
Darmowa wysyłka od 1.725 Złoty
Partner serwisowy dla ponad 50 producentów
Ponad 40 000 części zamiennych w asortymencie
+10 lat doświadczenia

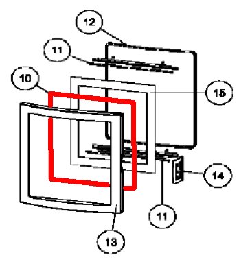
Austroflamm Chester Compact uszczelka szyby

uszczelka szyby /  uszczelka szkła / sznur uszczelniający / uszczelka / taśma szkła

 

Informacje dot. produktu "Austroflamm Chester Compact uszczelka szyby"

oryginał uszczelka szyby do piec kominkowy Austroflamm Chester Compact

  • Zalecamy jednoczesną wymianę uszczelki uchwytu płyty. Jest on dostępny u nas oddzielnie.

Austroflamm Chester Compact uszczelka szyby najważniejsze dane:

  • uszczelka, taśma szkła
  • długość 2,00 m
  • średnica 8 mm
  • pozycja 10 na rysunku w rozłożeniu na części
Eigenschaften "Austroflamm Chester Compact uszczelka szyby"
Producent: Austroflamm
model: Chester
typ części zamiennej: uszczelka szyby
typu: Compact

Przedstawiciel UE

Austroflamm GmbH
Austroflamm-Platz 1
4631 Krenglbach
AT
info@austroflamm.com

Podobne produkty

Austroflamm Chester Compact szyba wziernika
oryginał szyba wziernika do piec kominkowy Austroflamm Chester Compact Austroflamm Chester Compact szyba wziernika najważniejsze dane: szyba, szkło ceramiczne wymiary (szer./dł./wys.) 420 mm x 498 mm x 4 mm materiał szkło kształt płaski odporny na działanie wysokiej temperatury pozycja 15 na rysunku w rozłożeniu na części
Numer produktu: 01008001

1 538,67 zł*

czas dostawy ok. 2-3 tygodnie

Tylko 3 w magazynie!
Austroflamm Chester Compact uszczelka drzwi
oryginał uszczelka drzwi do piec kominkowy Austroflamm Chester Compact Austroflamm Chester Compact uszczelka drzwi najważniejsze dane: zawias drzwiowy, sznur uszczelniający uszczelka wargowa wymiary (szer./wys.) 8 mm x 16 mm długość 2,00 m pozycja 12 na rysunku w rozłożeniu na części
Numer produktu: 01008003

Treść: 2 metry (148,49 zł* / 1 metry)

296,97 zł*

Dostępny, czas dostawy: 4-6 dni

Austroflamm Chester Compact moduł zmiany kierunku ciągu
oryginał moduł zmiany kierunku ciągu do piec kominkowy Austroflamm Chester Compact Austroflamm Chester Compact moduł zmiany kierunku ciągu najważniejsze dane: moduł zmiany kierunku spalin, płyta odbojowa wymiary (szer./dł./wys.) 235 mm x 366 mm x 70 mm materiał keramott pozycja 7 na rysunku w rozłożeniu na części
Numer produktu: 01008004

465,62 zł*

czas dostawy ok. 2-3 tygodnie

Austroflamm Chester Compact okładzina komory paleniskowej
oryginał okładzina komory paleniskowej do piec kominkowy Austroflamm Chester Compact 8-elementowy zestaw Austroflamm Chester Compact okładzina komory paleniskowej najważniejsze dane: 8 sztuk Kamienie paleniska, kamienie komory spalania Materiał Keramott Kamień podłogowy lewy (215 x 242 x 30 mm), kamień podłogowy prawy (215 x 242 x 30 mm) Łapacz drewna (373 x 84 x 105 mm) Kamień boczny lewy (480/405 x 220 x 55/35 mm), kamień boczny prawy (215 x 405/480 x 45 mm) Ceglana ściana tylna lewa (390 x 178 x 58/34 mm), cegła tylnej ściany prawa (390 x 178 x 58/34 mm) Ugięcie linki (366 x 235 x 70 mm)
Numer produktu: 01022493

2 152,78 zł*

czas dostawy ok. 2-3 tygodnie