Przejdź do głównej zawartości Przejdź do wyszukiwania Przejdź do głównej nawigacji
Darmowa wysyłka od 1.725 Złoty
Partner serwisowy dla ponad 50 producentów
Ponad 40 000 części zamiennych w asortymencie
+10 lat doświadczenia

Drooff Malgrade kąt moduł zmiany kierunku ciągu na dole

moduł zmiany kierunku ciągu /  moduł zmiany kierunku spalin / płyta odbojowa / moduł zmiany kierunku dymu / moduł zmiany kierunku

 

Informacje dot. produktu "Drooff Malgrade kąt moduł zmiany kierunku ciągu na dole"

oryginał moduł zmiany kierunku ciągu na dole do piec kominkowy Drooff Malgrade kąt

Drooff Malgrade kąt moduł zmiany kierunku ciągu na dole najważniejsze dane:

  • moduł zmiany kierunku spalin, moduł zmiany kierunku
  • wymiary (szer./dł./wys.) 312 mm x 200 mm x 30 mm
  • materiał szamot
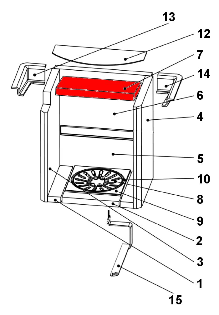
  • pozycja 7 na rysunku w rozłożeniu na części
Eigenschaften "Drooff Malgrade kąt moduł zmiany kierunku ciągu na dole"
Producent: Drooff
materiał: szamot
model: Malgrade
typ części zamiennej: moduł zmiany kierunku ciągu
typu: kąt

Przedstawiciel UE

Drooff Kaminöfen GmbH & Co. KG
Keffelker Straße 40
59929 Brilon
DE
info@drooff-kaminofen.de

Podobne produkty

Drooff Malgrade kąt uszczelka szyby
uszczelka szyby do piec kominkowy Drooff Malgrade kąt Drooff Malgrade kąt uszczelka szyby najważniejsze dane: uszczelka szkła, taśma szkła uszczelka płaska wymiary (szer./wys.) 8 mm x 2 mm długość 2,50 m samoprzylepny
Numer produktu: 01030669

Treść: 2.5 metry (79,07 zł*¹ / 1 metry)

197,68 zł*¹

Dostępny, czas dostawy: 4-6 dni

Drooff Malgrade kąt szyba wziernika
oryginał szyba wziernika do piec kominkowy Drooff Malgrade kąt Drooff Malgrade kąt szyba wziernika najważniejsze dane: szkło ceramiczne, wziernik odporny na działanie wysokiej temperatury
Numer produktu: 01030688

5 114,91 zł*¹

czas dostawy ok. 2-3 tygodnie

Drooff Malgrade kąt uszczelka drzwi
uszczelka drzwi do piec kominkowy Drooff Malgrade kąt Jeśli nie ma rowka, do mocowania zalecany jest klej ognioodporny. Wiązania uszczelniające zapobiegają rozplątywaniu się końcówek. Drooff Malgrade kąt uszczelka drzwi najważniejsze dane: zawias drzwiowy, uszczelka uszczelka sznurkowa wymiary (szer./wys.) 12 mm x 12 mm długość 2,30 m Długość całkowita
Numer produktu: 01039149

Treść: 2.3 metry (134,29 zł*¹ / 1 metry)

308,87 zł*¹

Dostępny, czas dostawy: 4-6 dni

Drooff Malgrade kąt okładzina komory paleniskowej zestwa
oryginał okładzina komory paleniskowej zestwa do piec kominkowy Drooff Malgrade kąt 8-elementowy zestaw Drooff Malgrade kąt okładzina komory paleniskowej najważniejsze dane: Materiał szamotowy Kamień podłogowy z przodu (229 x 49 x 26 mm) Kamień podłogowy lewy (52 x 278 x 26 mm), kamień podłogowy prawy (52 x 278 x 26 mm) Kamień boczny lewy (280 x 448/392 x 30 mm), kamień boczny prawy (448 x 280 x 30 mm) Kamień tylnej ściany powyżej (386 x 251 x 30 mm) Ugięcie dolnego pociągnięcia (312 x 200 x 30 mm) Materiał odlew Panel tylny poniżej (385 x 205 x 30 mm) Pozycje 1, 2, 3, 4, 5, 6, 7 w widoku rozstrzelonym
Numer produktu: 01039250

3 039,29 zł*¹

czas dostawy ok. 2-3 tygodnie