Przejdź do głównej zawartości Przejdź do wyszukiwania Przejdź do głównej nawigacji
Darmowa wysyłka od 1.725 Złoty
Partner serwisowy dla ponad 50 producentów
Ponad 40 000 części zamiennych w asortymencie
+10 lat doświadczenia

Drooff Sondrio 3 cegła boczna z prawej strony

cegła boczna /  cegła komory spalania / cegła komory paleniskowej

 

Informacje dot. produktu "Drooff Sondrio 3 cegła boczna z prawej strony"

oryginał cegła boczna z prawej strony do piec kominkowy Drooff Sondrio 3

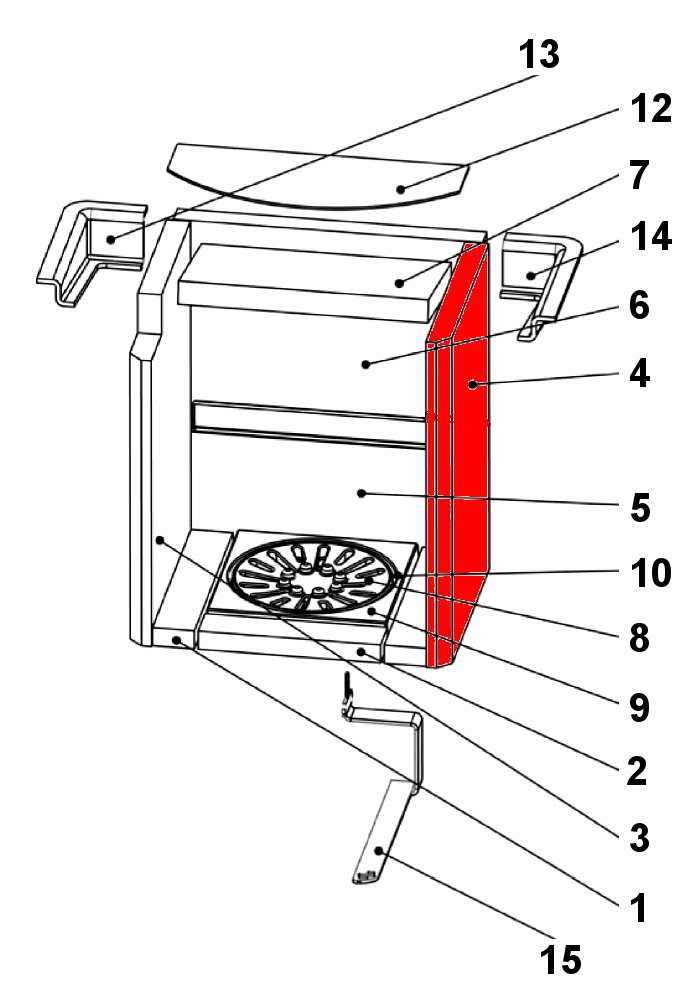
Drooff Sondrio 3 cegła boczna z prawej strony najważniejsze dane:

  • cegła komory spalania, cegła komory paleniskowej
  • wymiary (szer./dł./wys.) 280 mm x 448 mm x 30 mm
  • materiał szamot
  • kształt prostokątny
  • pozycja 4 na rysunku w rozłożeniu na części
Eigenschaften "Drooff Sondrio 3 cegła boczna z prawej strony"
Producent: Drooff
kształt: prostokątny
materiał: szamot
model: Sondrio
typ części zamiennej: cegła boczna
typu: 3

Przedstawiciel UE

Drooff Kaminöfen GmbH & Co. KG
Keffelker Straße 40
59929 Brilon
DE
info@drooff-kaminofen.de

Podobne produkty

Drooff Sondrio 3 szyba wziernika
oryginał szyba wziernika do piec kominkowy Drooff Sondrio 3 Drooff Sondrio 3 szyba wziernika najważniejsze dane: szkło ceramiczne, wziernik wymiary (szer./dł./wys.) 328 mm x 442 mm x 4 mm długość łuku 347 mm kształt wygięty odporny na działanie wysokiej temperatury
Numer produktu: 01006524

5 647,50 zł*¹

czas dostawy ok. 2-3 tygodnie

Drooff Sondrio 3 uszczelka szyby
uszczelka szyby do piec kominkowy Drooff Sondrio 3 Drooff Sondrio 3 uszczelka szyby najważniejsze dane: uszczelka szkła, taśma szkła uszczelka płaska wymiary (szer./wys.) 8 mm x 2 mm długość 4,00 m samoprzylepny
Numer produktu: 01030694

Treść: 4 metry (49,42 zł*¹ / 1 metry)

197,68 zł*¹

Dostępny, czas dostawy: 4-6 dni

Drooff Sondrio 3 uszczelka drzwi
uszczelka drzwi do piec kominkowy Drooff Sondrio 3 Jako pomoc w montażu zalecamy klej. W ofercie posiadamy również segregatory do uszczelek oraz tuleję do końcówek uszczelek. Drooff Sondrio 3 uszczelka drzwi najważniejsze dane: zawias drzwiowy, sznur uszczelniający uszczelka sznurkowa długość 3,00 m średnica 10 mm
Numer produktu: 01030703

Treść: 3 metry (102,96 zł*¹ / 1 metry)

308,87 zł*¹

Dostępny, czas dostawy: 4-6 dni

Drooff Sondrio 3 ruszt
oryginał ruszt do piec kominkowy Drooff Sondrio 3 Drooff Sondrio 3 ruszt najważniejsze dane: ruszt żeliwny, ruszt komory spalania wymiary (wys.) 18 mm średnica 200 mm materiał odlew pozycja 8 na rysunku w rozłożeniu na części
Numer produktu: 01030707

568,32 zł*¹

czas dostawy ok. 2-3 tygodnie

Drooff Sondrio 3 okładzina komory paleniskowej
oryginał okładzina komory paleniskowej do piec kominkowy Drooff Sondrio 3 Odlewana płyta tylna na dole (poz. 5) nie wchodzi w zakres dostawy. 7-elementowy zestaw Drooff Sondrio 3 okładzina komory paleniskowej najważniejsze dane: Wykładzina paleniska, cegły komory spalania Materiał szamotowy Kamień podłogowy z przodu (229 x 49 x 26 mm) Kamień podłogowy lewy (52 x 278 x 26 mm), kamień podłogowy prawy (52 x 278 x 26 mm) Kamień boczny lewy (280 x 448/392 x 30 mm), kamień boczny prawy (448 x 280 x 30 mm) Kamień tylnej ściany powyżej (386 x 251 x 30 mm) Ugięcie dolnego pociągnięcia (312 x 200 x 30 mm) Pozycje 1, 2, 3, 4, 6, 7 w widoku rozstrzelonym
Numer produktu: 01030804

2 396,84 zł*¹

czas dostawy ok. 2-3 tygodnie