Przejdź do głównej zawartości Przejdź do wyszukiwania Przejdź do głównej nawigacji
Darmowa wysyłka od 1.725 Złoty
Partner serwisowy dla ponad 50 producentów
Ponad 40 000 części zamiennych w asortymencie
+10 lat doświadczenia

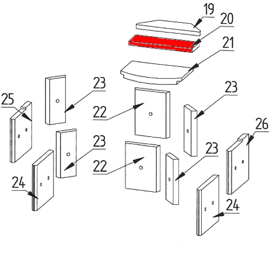
Fireplace Antibes moduł zmiany kierunku ciągu centralnie

moduł zmiany kierunku ciągu /  moduł zmiany kierunku spalin / płyta odbojowa / moduł zmiany kierunku dymu / moduł zmiany kierunku

 

Informacje dot. produktu "Fireplace Antibes moduł zmiany kierunku ciągu centralnie"

oryginał moduł zmiany kierunku ciągu centralnie do piec kominkowy Fireplace Antibes

Fireplace Antibes moduł zmiany kierunku ciągu centralnie najważniejsze dane:

  • płyta odbojowa, moduł zmiany kierunku dymu
  • cegła z wermikulitu
  • wymiary (szer./dł./wys.) 325 mm x 96 mm x 20 mm
  • materiał wermikulit
  • pozycja 20 na rysunku w rozłożeniu na części
Eigenschaften "Fireplace Antibes moduł zmiany kierunku ciągu centralnie"
Producent: Fireplace
materiał: wermikulit
model: Antibes
typ części zamiennej: moduł zmiany kierunku ciągu

Przedstawiciel UE

Fireplace Kft.
Vértanúk tere 4
2800 Tatabánya
HU
info@fireplace.de

Podobne produkty

Fireplace Antibes ruszt
oryginał ruszt do piec kominkowy Fireplace Antibes Fireplace Antibes ruszt najważniejsze dane: ruszt żeliwny, ruszt komory spalania wymiary (szer./dł./wys.) 270 mm x 272 mm x 29 mm materiał odlew
Numer produktu: 01022646

970,90 zł*¹

Dostępny, czas dostawy: 4-6 dni

Fireplace Antibes szyba wziernika
oryginał szyba wziernika do piec kominkowy Fireplace Antibes Fireplace Antibes szyba wziernika najważniejsze dane: szyba, szkło ceramiczne wymiary (szer./dł./wys.) 330 mm x 470 mm x 4 mm długość łuku 347 mm materiał szkło kształt wygięty
Numer produktu: 01023149

2 785,80 zł*¹

Dostępny, czas dostawy: 4-6 dni

Fireplace Antibes moduł zmiany kierunku ciągu na górze
oryginał moduł zmiany kierunku ciągu na górze do piec kominkowy Fireplace Antibes Fireplace Antibes moduł zmiany kierunku ciągu na górze najważniejsze dane: moduł zmiany kierunku spalin, płyta odbojowa cegła z wermikulitu wymiary (szer./dł./wys.) 170/320 mm x 97 mm x 20 mm materiał wermikulit pozycja 19 na rysunku w rozłożeniu na części
Numer produktu: 01023188

187,92 zł*¹

Dostępny, czas dostawy: 4-6 dni

Tylko 7 w magazynie!
Fireplace Antibes okładzina komory paleniskowej
oryginał okładzina komory paleniskowej do piec kominkowy Fireplace Antibes 13-elementowy zestaw Fireplace Antibes okładzina komory paleniskowej najważniejsze dane: 13 sztuk Wykładzina paleniska, cegły komory spalania Materiał wermikulitu Kamień boczny przód dolny lewy (230 x 242 x 25 mm) Kamień boczny przód dolny prawy (230 x 242 x 25 mm) Kamień boczny z przodu u góry po lewej (220/229 x 243 x 25 mm), kamień z przodu u góry po prawej (220/229 x 243 x 25 mm) Kamień boczny z tyłu na dole po lewej (105 x 230 x 25 mm), kamień boczny z tyłu na dole po prawej (105 x 230 x 2 5 mm) Kamień boczny z tyłu u góry po lewej (105 x 230 x 25 mm), kamień boczny z tyłu u góry po prawej (105 x 230 x 25 mm) Cegła tylnej ściany poniżej (230 x 180 x 25 mm), cegła tylnej ściany powyżej (230 x 180 x 25 mm) Ugięcie linki poniżej (310 x 197 x 30 mm), ugięcie linki pośrodku (325 x 96 x 20 mm) Ugięcie linki powyżej (170/323 x 97 x 20 mm) Ruszt na popiół nie wchodzi w skład zestawu
Numer produktu: 01023956

1 781,30 zł*¹

Dostępny, czas dostawy: 4-6 dni

Fireplace Antibes uszczelka drzwi
uszczelka drzwi do piec kominkowy Fireplace Antibes Do montażu wymagany jest klej. Zalecamy również opaski uszczelniające, aby zapobiec strzępieniu się końcówek sznura uszczelniającego. Do łączenia końcówek oferujemy dodatkowe tuleje uszczelniające. Fireplace Antibes uszczelka drzwi najważniejsze dane: sznur uszczelniający, uszczelka uszczelka sznurkowa długość 2,50 m średnica 9 mm
Numer produktu: 01024186

Treść: 2.5 metry (97,28 zł*¹ / 1 metry)

243,20 zł*¹

Dostępny, czas dostawy: 4-6 dni

Fireplace Antibes uszczelka szyby
uszczelka szyby do piec kominkowy Fireplace Antibes Fireplace Antibes uszczelka szyby najważniejsze dane: uszczelka szkła, sznur uszczelniający uszczelka płaska wymiary (szer./wys.) 8 mm x 2 mm długość 2,00 m samoprzylepny
Numer produktu: 01024338

Treść: 2 metry (93,96 zł*¹ / 1 metry)

187,92 zł*¹

Dostępny, czas dostawy: 4-6 dni

Fireplace Antibes skrzynka na popiół
oryginał skrzynka na popiół do piec kominkowy Fireplace Antibes Fireplace Antibes skrzynka na popiół najważniejsze dane: szuflada na popiół, pudło na popiół wymiary (szer./dł./wys.) 220 mm x 300 mm x 55 mm materiał metal pozycja 4 na rysunku w rozłożeniu na części
Numer produktu: 01040879

364,79 zł*¹

czas dostawy ok. 2-3 tygodnie