Haas-Sohn Pallazza 517.08 kołpak palnika
kołpak palnika / miska palnika / niecka spalania / niecka palnika
1 492,81 zł*
                                            
                            Treść:
                        
                    
                                            
                            1 sztuka
                        
                    
                                    
                        
                            
                            
                    Numer produktu:
                
            
                            
                
                    01011488
                
                    
                        
    
                                czas dostawy ok. 2-3 tygodnie
                                                                    Podobne produkty
                                                            
                            
                        
                                                 473,02 zł*
                                            
                                        
                                                                            
                                                 182,58 zł*
                                            
                                        
                                                                            
                                    
                    Numer produktu:
                
            
                                    
                
                    01011488
                
                            
                    
        
    
                        
                        
    
    Informacje dot. produktu "Haas-Sohn Pallazza 517.08 kołpak palnika"
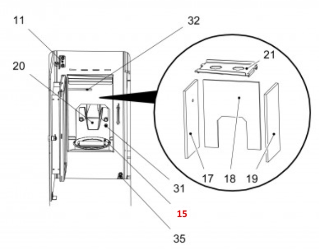
oryginał kołpak palnika do piec do spalania pelletu Haas-Sohn Pallazza 517.08
Haas-Sohn Pallazza 517.08 kołpak palnika najważniejsze dane:
- miska palnika, niecka palnika
- wymiary (szer./dł./wys.) 143 mm x 143 mm x 95 mm
- materiał stal stopowa
- kształt okrągły
- pozycja 15 na rysunku w rozłożeniu na części
                                                                                                        Eigenschaften "Haas-Sohn Pallazza 517.08 kołpak palnika"
                                                            
                                            
                                                                | Producent: | Haas-Sohn | 
|---|---|
| kształt: | okrągły | 
| materiał: | stal stopowa | 
| model: | Pallazza | 
| typ części zamiennej: | kołpak palnika | 
| typu: | 517.08 | 
Przedstawiciel UE
Haas + Sohn Ofentechnik GmbHUrstein Nord 67
5412 Puch
AT
info@haassohn.com
_400x400.webp?ts=1757318842) 
                                    _400x400.webp?ts=1757318576) 
                                    _400x400.webp?ts=1757319741) 
                                    _400x400.webp?ts=1757319902) 
                                    _400x400.webp?ts=1757318666) 
                                    _400x400.webp?ts=1757318492) 
                                    _400x400.webp?ts=1757320201) 
                                    _400x400.webp?ts=1757320249) 
                                     
                                         
                                         
                
        
                        