Haas-Sohn Tonstad 303.15 moduł zmiany kierunku ciągu
moduł zmiany kierunku spalin / płyta odbojowa / moduł zmiany kierunku dymu / moduł zmiany kierunku
688,88 zł*
                                            
                            Treść:
                        
                    
                                            
                            1 sztuka
                        
                    
                                    
                        
                            
                            
                    Numer produktu:
                
            
                            
                
                    01055917
                
                    
                        
    
                                Dostępny, czas dostawy: 4-6 dni
                                    
                    Numer produktu:
                
            
                                    
                
                    01055917
                
                            
                    
        
    
                        
                        
    
    Informacje dot. produktu "Haas-Sohn Tonstad 303.15 moduł zmiany kierunku ciągu"
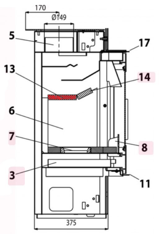
oryginał moduł zmiany kierunku ciągu do piec kominkowy Haas-Sohn Tonstad 303.15
Haas-Sohn Tonstad 303.15 moduł zmiany kierunku ciągu najważniejsze dane:
- płyta odbojowa, moduł zmiany kierunku dymu
- wymiary (szer./dł./wys.) 420 mm x 160 mm x 25 mm
- pozycja 13 na rysunku w rozłożeniu na części
Przedstawiciel UE
Haas + Sohn Ofentechnik GmbHUrstein Nord 67
5412 Puch
AT
info@haassohn.com
_400x400.webp?ts=1757318842) 
                                    _400x400.webp?ts=1757318576) 
                                    _400x400.webp?ts=1757319741) 
                                    _400x400.webp?ts=1757319902) 
                                    _400x400.webp?ts=1757318666) 
                                    _400x400.webp?ts=1757318492) 
                                    _400x400.webp?ts=1757320201) 
                                    _400x400.webp?ts=1757320249) 
                                     
                                         
                                         
                                         
                                         
                
        
                        