Przejdź do głównej zawartości Przejdź do wyszukiwania Przejdź do głównej nawigacji
Darmowa wysyłka od 1.725 Złoty
Partner serwisowy dla ponad 50 producentów
Ponad 40 000 części zamiennych w asortymencie
+10 lat doświadczenia

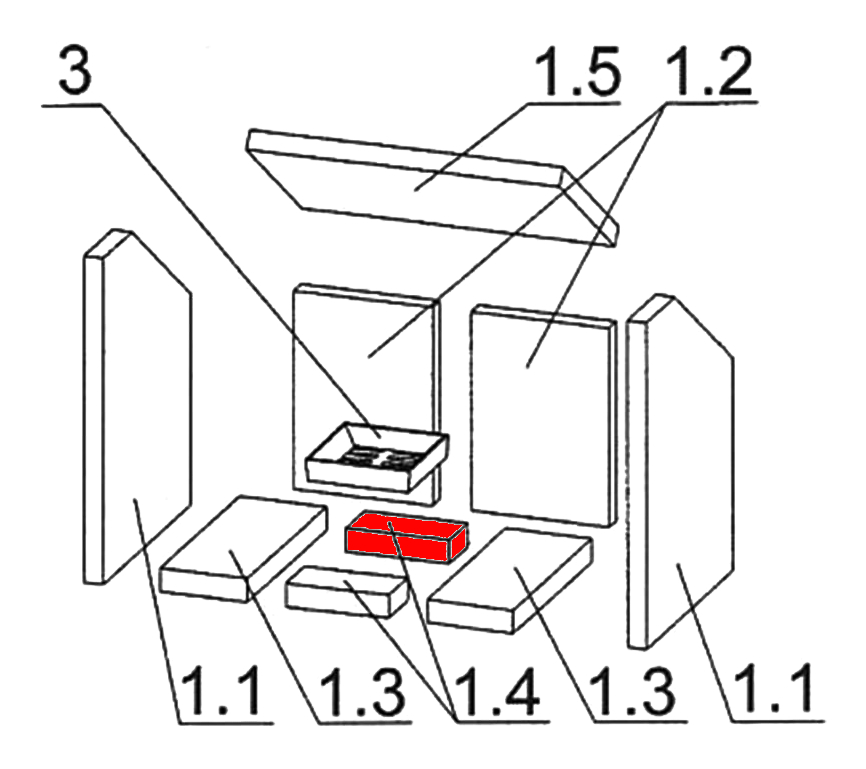
Justus Bavaria cegła podłogowa z tyłu A

cegła podłogowa /  cegła komory spalania / cegła komory paleniskowej

 

Informacje dot. produktu "Justus Bavaria cegła podłogowa z tyłu A"

oryginał cegła podłogowa z tyłu A do piec kominkowy Justus Bavaria

  • W tym modelu występują różne okładziny ceglane. Proszę zwrócić uwagę na rok produkcji pieca lub na wymiary cegły na tylnej ścianie po lewej stronie.
  • Zgodnie z naszym doświadczeniem ten kamień do paleniska został zainstalowany do 12/2002 roku i pasuje do kamienia z tylnej ściany po lewej stronie (182 x 255 mm).

Justus Bavaria cegła podłogowa z tyłu najważniejsze dane:

  • cegła komory spalania, cegła komory paleniskowej
  • wymiary (szer./dł./wys.) 135 mm x 65 mm x 30 mm
  • materiał szamot
  • pozycja 1.4 na rysunku w rozłożeniu na części
Eigenschaften "Justus Bavaria cegła podłogowa z tyłu A"
Producent: Justus
materiał: szamot
model: Bavaria
typ części zamiennej: cegła podłogowa

Przedstawiciel UE

Justus GmbH
Sechsheldener Straße 122
35708 Haiger-Sechshelden
DE
info@justus.de

Podobne produkty

Justus Bavaria szyba wziernika A
oryginał szyba wziernika A do piec kominkowy Justus Bavaria Dla Bavarii dostępne są różne wzierniki. Proszę zorientować się w wymiarach szyby. Justus Bavaria szyba wziernika najważniejsze dane: szyba, szkło ceramiczne wymiary (szer./dł./wys.) 350 mm x 410 mm x 4 mm materiał szkło kształt prostokątny odporny na działanie wysokiej temperatury pozycja 14 na rysunku w rozłożeniu na części
Numer produktu: 01000340

1 093,68 zł*¹

czas dostawy ok. 2-3 tygodnie

Tylko 3 w magazynie!
Justus Bavaria moduł zmiany kierunku ciągu A
oryginał moduł zmiany kierunku ciągu A do piec kominkowy Justus Bavaria W tym modelu występują różne okładziny ceglane. Proszę zwrócić uwagę na rok produkcji pieca lub na wymiary cegły na tylnej ścianie po lewej stronie. Zgodnie z naszym doświadczeniem ten kamień do paleniska został zainstalowany do 12/2002 roku i pasuje do kamienia z tylnej ściany po lewej stronie (182 x 255 mm). Justus Bavaria moduł zmiany kierunku ciągu najważniejsze dane: moduł zmiany kierunku spalin, moduł zmiany kierunku dymu wymiary (szer./dł./wys.) 410 mm x 240 mm x 25 mm materiał wermikulit pozycja 1.5 na rysunku w rozłożeniu na części
Numer produktu: 01000344

232,22 zł*¹

Dostępny, czas dostawy: 4-6 dni

Justus Bavaria ruszt
oryginał ruszt do piec kominkowy Justus Bavaria Justus Bavaria ruszt najważniejsze dane: ruszt żeliwny, ruszt komory spalania wymiary (szer./dł./wys.) 135 mm x 135 mm x 30 mm materiał odlew
Numer produktu: 01016587

278,66 zł*¹

Dostępny, czas dostawy: 4-6 dni

Justus Bavaria uszczelka drzwi zestwa
uszczelka drzwi zestwa do piec kominkowy Justus Bavaria 5-elementowy zestaw Justus Bavaria uszczelka drzwi najważniejsze dane: Taśma uszczelniająca, sznur uszczelniający Uszczelnienie sznurowe Długość 2m Średnica 10 mm Kluczowe dane kleju: 1 kawałek Zawartość 17ml odporny na działanie wysokiej temperatury Kluczowe dane tulei uszczelniającej: 1 kawałek Średnica 10 mm Spoiwo uszczelek 2 paski
Numer produktu: 01018344

211,76 zł*¹

Dostępny, czas dostawy: 4-6 dni

Justus Bavaria uszczelka szyby A
uszczelka szyby A do piec kominkowy Justus Bavaria rodzaj 4634-7 Justus Bavaria rodzaj 4634-7 uszczelka szyby najważniejsze dane: uszczelka szkła, taśma szkła uszczelka samoprzylepna wymiary (szer./wys.) 10 mm x 2 mm długość 2,00 m samoprzylepny
Numer produktu: 01018535

Treść: 2 metry (60,61 zł*¹ / 1 metry)

121,21 zł*¹

Dostępny, czas dostawy: 4-6 dni

Tylko 1 w magazynie!
Justus Bavaria okładzina komory paleniskowej A
oryginał okładzina komory paleniskowej A do piec kominkowy Justus Bavaria rodzaj 4634-7 Cegły leżące wykonane są z materiału gliny ogniotrwałej, pozostałe płyty wykonane są z wermikulitu. 9-elementowy zestaw Justus Bavaria rodzaj 4634-7 okładzina komory paleniskowej najważniejsze dane: Kamień podłogowy z przodu (135 x 65 x 30 mm), kamień podłogowy z tyłu (135 x 65 x 30 mm) Płytka podłogowa lewa (113 x 275 x 30 mm), płytka podłogowa prawa (113 x 275 x 30 mm) Kamień boczny lewy (305 x 272/420 x 25 mm), kamień boczny prawy (305 x 272/420 x 25 mm) Ceglana ściana tylna lewa (182 x 255 x 25 mm), cegła tylnej ściany prawa (182 x 255 x 25 mm) Ugięcie kabla (410 x 240 x 25 mm) Pozycje 1.1, 1.2, 1.3, 1.4, 1.5 w widoku rozstrzelonym
Numer produktu: 01019870

1 569,35 zł*¹

Dostępny, czas dostawy: 4-6 dni

Tylko 1 w magazynie!
Justus Bavaria cegła podłogowa zestwa
oryginał cegła podłogowa zestwa do piec kominkowy Justus Bavaria rodzaj 4634-7 Zgodnie z doświadczeniem, te cegły paleniskowe były montowane do 12/2002 i pasują do cegły ściany tylnej po lewej stronie (182 x 255 mm). W tym modelu występują różne okładziny ceglane. Proszę zwrócić uwagę na rok produkcji pieca lub na wymiary cegły na tylnej ścianie po lewej stronie. 4-elementowy zestaw Justus Bavaria rodzaj 4634-7 cegła podłogowa najważniejsze dane: 4 części Zestaw kamieni podłogowych, zestaw kamieni do poziomej komory spalania Materiał wermikulitu Kamień podłogowy z przodu (135 x 65 x 30 mm), kamień podłogowy z tyłu (135 x 65 x 30 mm) Płytka podłogowa lewa (113 x 275 x 30 mm), płytka podłogowa prawa (113 x 275 x 30 mm) Pozycje 1.3, 1.4 w widoku rozstrzelonym
Numer produktu: 01021101

317,62 zł*¹

Dostępny, czas dostawy: 4-6 dni

Tylko 1 w magazynie!
Justus Bavaria cegła boczna zestwa
oryginał cegła boczna zestwa do piec kominkowy Justus Bavaria rodzaj 4634-7 4-elementowy zestaw Justus Bavaria rodzaj 4634-7 cegła boczna najważniejsze dane: 4 części Zestaw kamieni bocznych, zestaw kamieni bocznych do komory spalania Materiał wermikulitu Kamień boczny lewy (305 x 272/420 x 25 mm), kamień boczny prawy (305 x 272/420 x 25 mm) Ceglana ściana tylna lewa (182 x 255 x 25 mm), cegła tylnej ściany prawa (182 x 255 x 25 mm) Pozycje 1.1 i 1.2 w widoku rozstrzelonym
Numer produktu: 01022577

1 029,26 zł*¹

Dostępny, czas dostawy: 4-6 dni