Przejdź do głównej zawartości Przejdź do wyszukiwania Przejdź do głównej nawigacji
Darmowa wysyłka od 1.725 Złoty
Partner serwisowy dla ponad 50 producentów
Ponad 40 000 części zamiennych w asortymencie
+10 lat doświadczenia

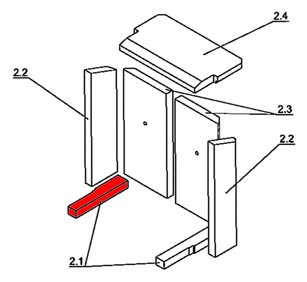
Justus Rügen cegła podłogowa z lewej strony

cegła podłogowa /  cegła komory spalania / cegła komory paleniskowej

 

Informacje dot. produktu "Justus Rügen cegła podłogowa z lewej strony"

oryginał cegła podłogowa z lewej strony do piec kominkowy Justus Rügen rodzaj 4681, 4781

Justus Rügen rodzaj 4681, 4781 cegła podłogowa z lewej strony najważniejsze dane:

  • cegła komory spalania, cegła komory paleniskowej
  • cegła z wermikulitu
  • wymiary (szer./dł./wys.) 38/45 mm x 255/107 mm x 30 mm
  • materiał wermikulit
  • kształt prostokątny
  • pozycja 2.1 na rysunku w rozłożeniu na części
Eigenschaften "Justus Rügen cegła podłogowa z lewej strony"
Producent: Justus
kształt: prostokątny
materiał: wermikulit
model: Rügen
typ części zamiennej: cegła podłogowa
typu 2: rodzaj 4681, 4781

Przedstawiciel UE

Justus GmbH
Sechsheldener Straße 122
35708 Haiger-Sechshelden
DE
info@justus.de

Podobne produkty

Tylko 6 w magazynie!
Justus Rügen moduł zmiany kierunku ciągu
oryginał moduł zmiany kierunku ciągu do piec kominkowy Justus Rügen Justus Rügen moduł zmiany kierunku ciągu najważniejsze dane: moduł zmiany kierunku dymu, moduł zmiany kierunku cegła z wermikulitu wymiary (szer./dł./wys.) 390 mm x 220 mm x 30 mm materiał wermikulit pozycja 2.4 na rysunku w rozłożeniu na części
Numer produktu: 01005314

278,66 zł*¹

Dostępny, czas dostawy: 4-6 dni

Justus Rügen ruszt
oryginał ruszt do piec kominkowy Justus Rügen rodzaj 4681, 4781 Justus Rügen rodzaj 4681, 4781 ruszt najważniejsze dane: ruszt żeliwny, ruszt komory spalania wymiary (szer./dł./wys.) 280 mm x 252 mm x 30 mm materiał odlew
Numer produktu: 01005318

628,49 zł*¹

czas dostawy ok. 2-3 tygodnie

Justus Rügen szyba wziernika
oryginał szyba wziernika do piec kominkowy Justus Rügen Justus Rügen szyba wziernika najważniejsze dane: szyba, szkło ceramiczne materiał szkło kształt wygięty odporny na działanie wysokiej temperatury
Numer produktu: 01005320

2 784,38 zł*¹

czas dostawy ok. 2-3 tygodnie

Justus Rügen uszczelka drzwi
uszczelka drzwi do piec kominkowy Justus Rügen rodzaj 4681, 4781 Zalecamy stosowanie kleju i dodatkowego uszczelniacza, aby zapobiec strzępieniu się końcówek. Justus Rügen rodzaj 4681, 4781 uszczelka drzwi najważniejsze dane: sznur uszczelniający, uszczelka uszczelka sznurkowa długość 2,00 m średnica 12 mm
Numer produktu: 01018924

Treść: 2 metry (60,61 zł*¹ / 1 metry)

121,21 zł*¹

Dostępny, czas dostawy: 4-6 dni

Wyprzedane
Justus Rügen okładzina komory paleniskowej
oryginał okładzina komory paleniskowej do piec kominkowy Justus Rügen rodzaj 4681, 4781 Producent zaprzestał produkcji tego artykułu. O ile dysponujemy resztką zapasów, ta część zamienna jest u nas dostępna. 7-elementowy zestaw Justus Rügen rodzaj 4681, 4781 okładzina komory paleniskowej najważniejsze dane: Materiał wermikulitu Kamień podłogowy lewy (38/45 x 255/107 x 30 mm), kamień podłogowy prawy (38/45 x 255/107 x 30 mm) Kamień boczny lewy (100/120 x 420/455 x 30 mm), kamień boczny prawy (100/120 x 420/455 x 30 mm) Kamień do tylnej ściany pojedynczy perforowany lewy (175/200 x 420 x 30 mm) Kamień do tylnej ściany pojedynczej perforowany, prawa (175/200 x 420 x 30 mm) Ugięcie linki (350/390 x 220 x 30 mm) Pozycje 2.1, 2.2, 2.3, 2.4 w widoku rozstrzelonym
Numer produktu: 01020138

628,49 zł*¹

już niedostępne, zaprzestano produkcji

Justus Rügen uszczelka szyby
uszczelka szyby do piec kominkowy Justus Rügen rodzaj 4681, 4781 Justus Rügen rodzaj 4681, 4781 uszczelka szyby najważniejsze dane: uszczelka szkła, taśma szkła uszczelka z drążonego sznurka długość 2,00 m średnica 6 mm samoprzylepny
Numer produktu: 01020207

Treść: 3 metry (39,95 zł*¹ / 1 metry)

119,86 zł*¹

Dostępny, czas dostawy: 4-6 dni