Przejdź do głównej zawartości Przejdź do wyszukiwania Przejdź do głównej nawigacji
Darmowa wysyłka od 1.725 Złoty
Partner serwisowy dla ponad 50 producentów
Ponad 40 000 części zamiennych w asortymencie
+10 lat doświadczenia

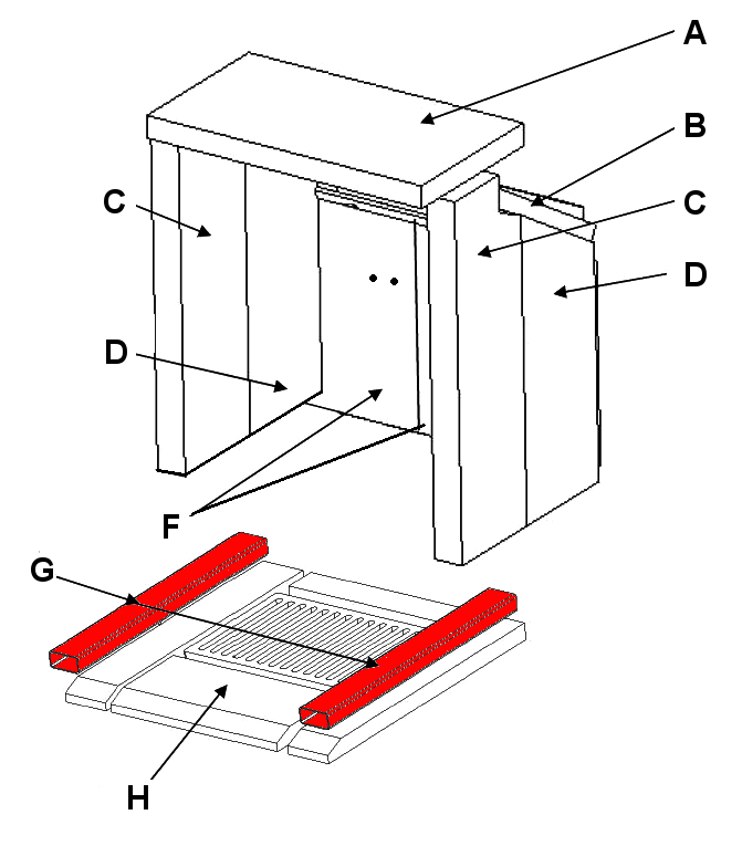
Koppe KA 300 moduł zmiany kierunku ciągu na górze

moduł zmiany kierunku ciągu /  moduł zmiany kierunku spalin / płyta odbojowa / moduł zmiany kierunku dymu / moduł zmiany kierunku

 

Informacje dot. produktu "Koppe KA 300 moduł zmiany kierunku ciągu na górze"

oryginał moduł zmiany kierunku ciągu na górze do piec kominkowy Koppe KA 300

Koppe KA 300 moduł zmiany kierunku ciągu na górze najważniejsze dane:

  • płyta odbojowa, moduł zmiany kierunku dymu
  • wymiary (szer./dł./wys.) 400 mm x 220 mm x 30 mm
  • materiał wermikulit
  • pozycja A na rysunku w rozłożeniu na części
Eigenschaften "Koppe KA 300 moduł zmiany kierunku ciągu na górze"
Producent: Koppe
materiał: wermikulit
model: KA
typ części zamiennej: moduł zmiany kierunku ciągu
typu: 300

Przedstawiciel UE

Erwin Koppe keramische Heizgeräte GmbH
Koppe-Platz 1
92676 Eschenbach in der Oberpfalz
DE
info@ofenkoppe.de

Podobne produkty

Tylko 1 w magazynie!
Koppe KA 300 szyba wziernika
oryginał szyba wziernika do piec kominkowy Koppe KA 300 Koppe KA 300 szyba wziernika najważniejsze dane: szyba, wziernik wymiary (szer./dł./wys.) 309 mm x 359 mm x 4 mm materiał szkło kształt prosty odporny na działanie wysokiej temperatury
Numer produktu: 01028957

900,19 zł*

Dostępny, czas dostawy: 4-6 dni

Wyprzedane
Koppe KA 300 ruszt
oryginał ruszt do piec kominkowy Koppe KA 300 Producent zaprzestał produkcji tego artykułu. O ile dysponujemy resztką zapasów, ta część zamienna jest u nas dostępna. Zamiana na podłogę żeliwną wymaga zamontowania 2 rur kwadratowych. Polecamy zestaw do przebudowy podłogi komory spalania. Koppe KA 300 ruszt najważniejsze dane: ruszt żeliwny, ruszt komory spalania materiał odlew
Numer produktu: 01028978

563,84 zł*

już niedostępne, zaprzestano produkcji

Tylko 1 w magazynie!
Koppe KA 300 moduł zmiany kierunku ciągu na dole
oryginał moduł zmiany kierunku ciągu na dole do piec kominkowy Koppe KA 300 Koppe KA 300 moduł zmiany kierunku ciągu na dole najważniejsze dane: moduł zmiany kierunku spalin, moduł zmiany kierunku dymu wymiary (szer./dł./wys.) 400 mm x 225 mm x 30 mm materiał wermikulit
Numer produktu: 01028985

253,60 zł*

Dostępny, czas dostawy: 4-6 dni

Koppe KA 300 uszczelka szyby
uszczelka szyby do piec kominkowy Koppe KA 300 Koppe KA 300 uszczelka szyby najważniejsze dane: sznur uszczelniający, uszczelka uszczelka płaska wymiary (szer./wys.) 8 mm x 2 mm długość 3,00 m samoprzylepny
Numer produktu: 01029009

Treść: 3 metry (54,95 zł* / 1 metry)

164,84 zł*

Dostępny, czas dostawy: 4-6 dni

Koppe KA 300 uszczelka drzwi
oryginał uszczelka drzwi do piec kominkowy Koppe KA 300 Producent dokonał zmiany w uszczelnieniu. Do tej pory zamontowany był aluminiowy sznur uszczelniający z mosiądzem. Istnieją różne uszczelki drzwi dla tego modelu, należy je wcześniej porównać z poprzednio zainstalowanymi. Do montażu tej uszczelki wymagany jest klej. Koppe KA 300 uszczelka drzwi najważniejsze dane: sznur uszczelniający, uszczelka uszczelka sznurkowa długość 2,40 m średnica 8 mm
Numer produktu: 01029067

Treść: 2.4 metry (69,46 zł* / 1 metry)

166,70 zł*

Dostępny, czas dostawy: 4-6 dni

Wyprzedane
Koppe KA 300 cegła podłogowa zestwa
oryginał cegła podłogowa zestwa do piec kominkowy Koppe KA 300 Producent zmienił 5-częściową część podłogową (4 kamienie podłogowe + ruszt popielnikowy) na żeliwną podłogę paleniska. Cegły denne i ruszt popielnicowy nie są już produkowane i należy je zastąpić żeliwnym dnem komory spalania. Zamiana na podłogę żeliwną wymaga zamontowania 2 rur kwadratowych. Koppe KA 300 cegła podłogowa najważniejsze dane: cegła komory spalania, cegła komory paleniskowej
Numer produktu: 01029179

563,84 zł*

dostępne tylko na zamówienie

Tylko 1 w magazynie!
Koppe KA 300 okładzina komory paleniskowej B
oryginał okładzina komory paleniskowej B do piec kominkowy Koppe KA 300 Producent zmienił 5-częściową część podłogową (4 kamienie podłogowe + ruszt popielnikowy) na żeliwną podłogę paleniska. Ta wykładzina będzie potrzebna, jeśli wcześniej przeszli Państwo na żeliwną podłogę paleniska. (Metalowe wsporniki po lewej i prawej stronie w obszarze podłogi są elementem charakterystycznym). 8-elementowy zestaw Koppe KA 300 okładzina komory paleniskowej najważniejsze dane: 8 sztuk Wykładzina paleniska, cegły komory spalania Materiał szamotowy Kamień boczny lewy przód (138 x 405/478 x 40 mm), kamień boczny lewy tył (155 x 312/403 x 40 mm) Kamień boczny prawy przód (138 x 405/478 x 40 mm), kamień boczny prawy tył (155 x 312/403 x 40 mm) perforowany kamień do tylnej ściany lewy (220 x 340 x 35 mm) kamienna ściana tylna perforowana prawa (220 x 340 x 35 mm) Materiał wermikulitu Ugięcie kabla poniżej (400 x 225 x 30 mm) Ugięcie kabla powyżej (400 x 220 x 30 mm) Pozycje A, B, C, D, E na widoku rozstrzelonym
Numer produktu: 01029285

2 550,20 zł*

Dostępny, czas dostawy: 4-6 dni

Wyprzedane
Koppe KA 300 okładzina komory paleniskowej A
oryginał okładzina komory paleniskowej A do piec kominkowy Koppe KA 300 Producent zaprzestał produkcji tego artykułu. O ile dysponujemy resztką zapasów, ta część zamienna jest u nas dostępna. 10-elementowy zestaw Koppe KA 300 okładzina komory paleniskowej najważniejsze dane: 10 kawałków Wykładzina komory spalania Materiał szamotowy Cegła tylnej ściany perforowana po lewej stronie (220 x 340 x 35 mm), cegła tylnej ściany perforowana po prawej stronie (220 x 340 x 35 mm) Kamień boczny lewy przód (138 x 405/478 x 40 mm), kamień boczny prawy przód (138 x 405/478 x 40 mm) Kamień boczny lewy tył (155 x 312/403 x 40 mm), kamień boczny prawy tył (155 x 312/403 x 40 mm) Materiał metal Metalowa szyna do kamieni bocznych po lewej stronie (350 x 35 x 20 mm) Prowadnica metalowa do kamieni bocznych prawa (350 x 35 x 20 mm) Materiał wermikulitu Ugięcie kabla poniżej (400 x 225 x 30 mm) Ugięcie kabla powyżej (400 x 220 x 30 mm)
Numer produktu: 01029307

1 912,96 zł*

już niedostępne, zaprzestano produkcji

Wyprzedane
Koppe KA 300 zamocowanie zestwa
oryginał zamocowanie zestwa do piec kominkowy Koppe KA 300 Producent zaprzestał produkcji tego artykułu. O ile dysponujemy resztką zapasów, ta część zamienna jest u nas dostępna. Producent zmienił 5-częściową część podłogową (4 kamienie podłogowe + ruszt popielnikowy) na żeliwną podłogę paleniska. Cegły denne i ruszt popielnicowy nie są już produkowane i należy je zastąpić żeliwnym dnem komory spalania. Zamiana na podłogę żeliwną wymaga zamontowania 2 rur kwadratowych. 2-elementowy zestaw Koppe KA 300 zamocowanie najważniejsze dane: przyrząd mocujący, uchwyt materiał stal kształt podłużny
Numer produktu: 01029419

211,33 zł*

już niedostępne, zaprzestano produkcji