Przejdź do głównej zawartości Przejdź do wyszukiwania Przejdź do głównej nawigacji
Darmowa wysyłka od 1.725 Złoty
Partner serwisowy dla ponad 50 producentów
Ponad 40 000 części zamiennych w asortymencie
+10 lat doświadczenia

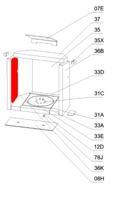
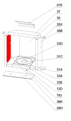
Olsberg Pago cegła boczna z lewej strony z przodu

cegła boczna /  cegła komory spalania / cegła komory paleniskowej

 

Informacje dot. produktu "Olsberg Pago cegła boczna z lewej strony z przodu"

oryginał cegła boczna z lewej strony z przodu do piec kominkowy Olsberg Pago

  • Producent zaprzestał produkcji tego artykułu. O ile dysponujemy resztką zapasów, ta część zamienna jest u nas dostępna.

Olsberg Pago cegła boczna z lewej strony z przodu najważniejsze dane:

  • cegła komory spalania, cegła komory paleniskowej
  • wymiary (szer./dł./wys.) 280 mm x 335 mm x 35 mm
  • materiał szamot
  • pozycja 36B na rysunku w rozłożeniu na części
Eigenschaften "Olsberg Pago cegła boczna z lewej strony z przodu"
Producent: Olsberg
materiał: szamot
model: Pago
typ części zamiennej: cegła boczna

Przedstawiciel UE

Olsberg GmbH
Hüttenstraße 38
59939 Olsberg
DE
info@olsberg.com

Podobne produkty

Olsberg Pago szyba wziernika
oryginał szyba wziernika do piec kominkowy Olsberg Pago Olsberg Pago szyba wziernika najważniejsze dane: szyba, szkło ceramiczne wymiary (szer./dł./wys.) 450 mm x 600 mm x 4 mm materiał szkło odporny na działanie wysokiej temperatury
Numer produktu: 01000488

5 912,58 zł*

czas dostawy ok. 2-3 tygodnie

Tylko 1 w magazynie!
Olsberg Pago ruszt
oryginał ruszt do piec kominkowy Olsberg Pago Olsberg Pago ruszt najważniejsze dane: ruszt żeliwny, ruszt komory spalania wymiary (wys.) 30 mm średnica 204 mm materiał odlew kształt okrągły
Numer produktu: 01025007

751,60 zł*

Dostępny, czas dostawy: 4-6 dni

Olsberg Pago uszczelka drzwi zestwa
uszczelka drzwi zestwa do piec kominkowy Olsberg Pago 7-elementowy zestaw Olsberg Pago uszczelka drzwi najważniejsze dane: 7-częściowy zestaw Uszczelnienie sznurowe Średnica 12 mm Długość 3 m Klej Tubka 17 ml Zawartość 1 sztuka Spoiwo uszczelek 4 paski Tuleja uszczelniająca (optymalnie zakrywa końce sznura uszczelniającego) 1 kawałek
Numer produktu: 01025934

200,26 zł*

Dostępny, czas dostawy: 4-6 dni

Wyprzedane
Olsberg Pago okładzina komory paleniskowej
oryginał okładzina komory paleniskowej do piec kominkowy Olsberg Pago Producent zaprzestał produkcji tego artykułu. O ile dysponujemy resztką zapasów, ta część zamienna jest u nas dostępna. Olsberg Pago okładzina komory paleniskowej najważniejsze dane: 10 kawałków Cegły paleniskowe, cegły szamotowe Materiał szamotowy Kamień podłogowy lewy (70 x 260 x 30 mm), kamień podłogowy prawy (70 x 260 x 30 mm) Kamień podłogowy z przodu (230 x 40 x 30 mm), kamień podłogowy z tyłu (250 x 30 x 30 mm) Kamień boczny lewy przód (190 x 365/420 x 30 mm), kamień boczny prawy przód (190 x 365/420 x 30 mm) Kamień boczny pozostawiony (136 x 360 x 30 mm), kamień boczny pozostawiony (136 x 360 x 30 mm) Cegła tylna (230 x 333 x 30 mm) Ugięcie kabla (400 x 230 x 30 mm)
Numer produktu: 01042201

2 704,15 zł*

już niedostępne, zaprzestano produkcji