Przejdź do głównej zawartości Przejdź do wyszukiwania Przejdź do głównej nawigacji
Darmowa wysyłka od 1.725 Złoty
Partner serwisowy dla ponad 50 producentów
Ponad 40 000 części zamiennych w asortymencie
+10 lat doświadczenia

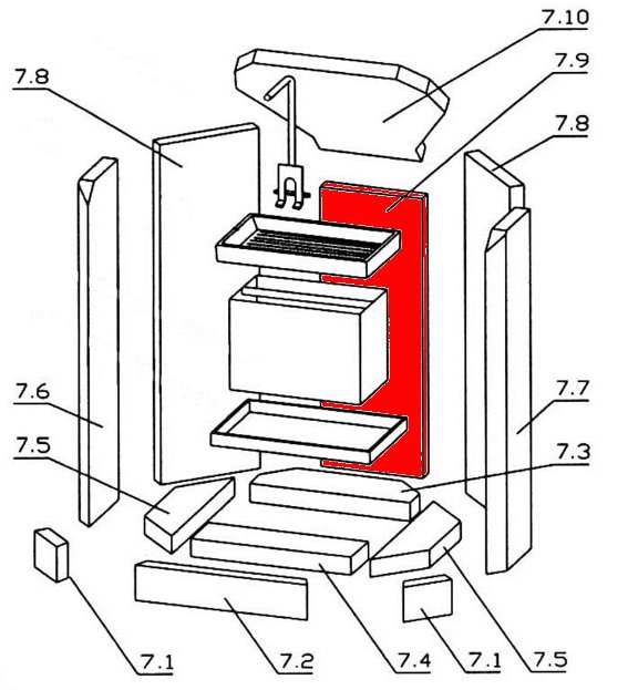
Oranier Gala Prisma Aqua cegła tylnej ściany

cegła tylnej ściany /  cegła komory spalania / cegła komory paleniskowej

 

Informacje dot. produktu "Oranier Gala Prisma Aqua cegła tylnej ściany"

oryginał cegła tylnej ściany do piec kominkowy Oranier Gala Prisma Aqua

Oranier Gala Prisma Aqua cegła tylnej ściany najważniejsze dane:

  • cegła komory spalania, cegła komory paleniskowej
  • wymiary (szer./dł./wys.) 230 mm x 491 mm x 25 mm
  • materiał wermikulit
  • gelocht
  • pozycja 7.9 na rysunku w rozłożeniu na części
Eigenschaften "Oranier Gala Prisma Aqua cegła tylnej ściany"
Producent: Oranier
materiał: wermikulit
model: Gala
typ części zamiennej: cegła tylnej ściany
typu: Prisma Aqua

Przedstawiciel UE

Oranier Heiztechnik GmbH
Oranier Straße 1
35708 Haiger
DE
info@oranier.com

Producent

Oranier


DE

Podobne produkty

Tylko 1 w magazynie!
Oranier Gala Prisma szyba wziernika A
oryginał szyba wziernika A do piec kominkowy Oranier Gala Prisma Oranier Gala Prisma szyba wziernika najważniejsze dane: szkło ceramiczne, szkło drzwi wymiary (szer./dł./wys.) 445 mm x 500 mm x 4 mm materiał szkło kształt wygięty odporny na działanie wysokiej temperatury
Numer produktu: 01005316

1 972,54 zł*

Dostępny, czas dostawy: 4-6 dni

Tylko 4 w magazynie!
Oranier Gala Prisma szyba wziernika B
oryginał szyba wziernika B do piec kominkowy Oranier Gala Prisma Oranier Gala Prisma szyba wziernika najważniejsze dane: szyba, szkło ceramiczne wymiary (szer./dł./wys.) 325 mm x 500 mm x 4 mm materiał szkło kształt pryzmatyczny odporny na działanie wysokiej temperatury
Numer produktu: 01006410

2 079,32 zł*

Dostępny, czas dostawy: 4-6 dni

Tylko 1 w magazynie!
Oranier Gala Prisma moduł zmiany kierunku ciągu
oryginał moduł zmiany kierunku ciągu do piec kominkowy Oranier Gala Prisma Oranier Gala Prisma moduł zmiany kierunku ciągu najważniejsze dane: moduł zmiany kierunku spalin, moduł zmiany kierunku wymiary (szer./dł./wys.) 295 mm x 350 mm x 25 mm materiał wermikulit
Numer produktu: 01008188

241,43 zł*

Dostępny, czas dostawy: 4-6 dni

Oranier Gala Prisma uszczelka drzwi
uszczelka drzwi do piec kominkowy Oranier Gala Prisma Do montażu tej uszczelki wymagany jest klej. Oranier Gala Prisma uszczelka drzwi najważniejsze dane: zawias drzwiowy, sznur uszczelniający długość 3,00 m średnica 10 mm
Numer produktu: 01017997

Treść: 3 metry (37,07 zł* / 1 metry)

111,20 zł*

Dostępny, czas dostawy: 4-6 dni

Oranier Gala Prisma uszczelka szyby
uszczelka szyby do piec kominkowy Oranier Gala Prisma Oranier Gala Prisma uszczelka szyby najważniejsze dane: sznur uszczelniający, taśma szkła uszczelka z drążonego sznurka długość 3,00 m średnica 6 mm samoprzylepny
Numer produktu: 01019611

Treść: 3 metry (38,03 zł* / 1 metry)

114,08 zł*

Dostępny, czas dostawy: 4-6 dni

Oranier Gala Prisma okładzina komory paleniskowej
oryginał okładzina komory paleniskowej do piec kominkowy Oranier Gala Prisma 13-elementowy zestaw Oranier Gala Prisma okładzina komory paleniskowej najważniejsze dane: Materiał wermikulitu Kamień przedni na środku (290 x 54 x 25 mm) Kamień przedni lewy (85/71 x 55 x 25 mm), kamień przedni prawy (85/71 x 55 x 25 mm) Kamień podłogowy przód (270 x 78 x 30 mm), kamień podłogowy tył (270 x 89 x 30 mm) Kamień podłogowy lewy (285 x 76 x 30 mm), kamień podłogowy prawy (285 x 76 x 30 mm) Kamień tylnej ściany (469 x 172 x 26 mm) Kamień boczny lewy przód (567 x 135 x 25 mm), kamień boczny prawy przód (565 x 135 x 25 mm) Kamień boczny po lewej stronie (568 x 176 x 25 mm), kamień boczny po prawej stronie (568 x 176 x 25 mm) Ugięcie linki (352 x 295 x 26 mm)
Numer produktu: 01021377

1 487,69 zł*

czas dostawy ok. 2-3 tygodnie