Przejdź do głównej zawartości Przejdź do wyszukiwania Przejdź do głównej nawigacji
Darmowa wysyłka od 1.725 Złoty
Partner serwisowy dla ponad 50 producentów
Ponad 40 000 części zamiennych w asortymencie
+10 lat doświadczenia

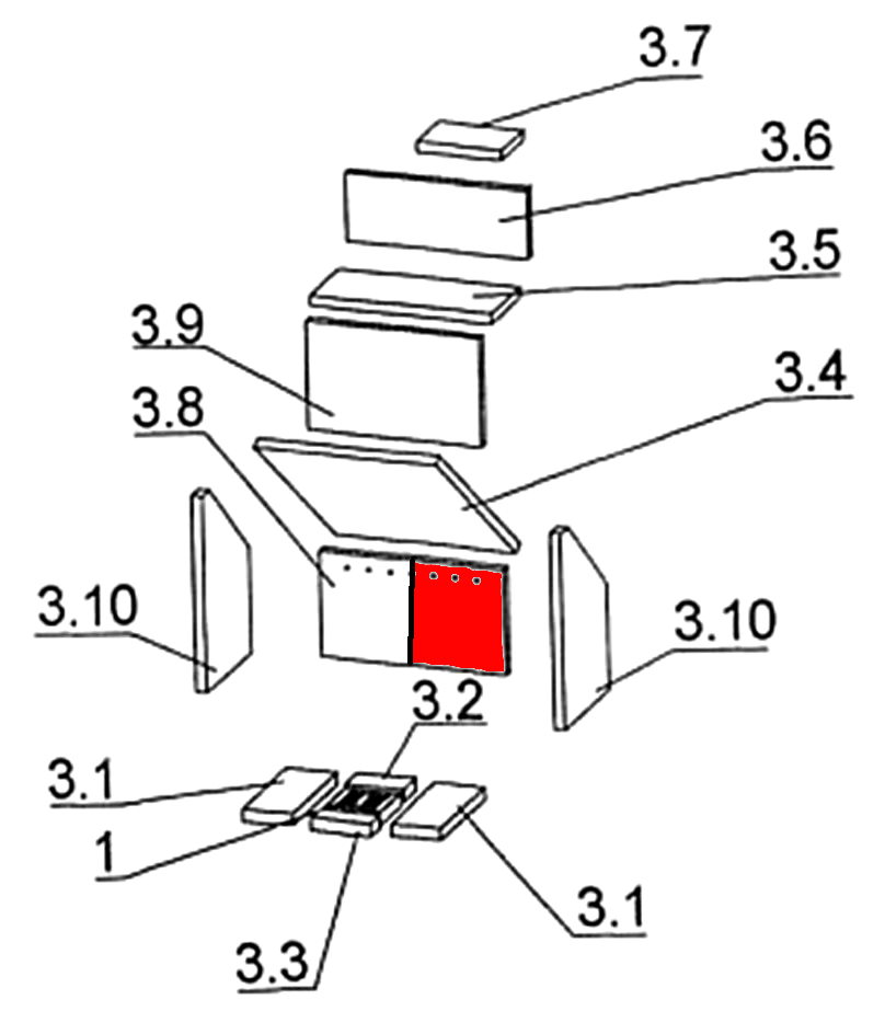
Oranier Malmö 6 cegła tylnej ściany z prawej strony B

cegła tylnej ściany /  cegła komory spalania / cegła komory paleniskowej

 

Informacje dot. produktu "Oranier Malmö 6 cegła tylnej ściany z prawej strony B"

oryginał cegła tylnej ściany z prawej strony B do piec kominkowy Oranier Malmö 6

  • W tym modelu występują różne okładziny ceglane. Proszę kierować się wysokością kamienia bocznego po prawej stronie.
  • Doświadczenie pokazało, że ten kamień pasuje do komory spalania, której boczny kamień po prawej stronie ma wysokość 450 mm.
  • Producent zmienił dotychczasowy 1-częściowy panel tylny na 2-częściowy.

Oranier Malmö 6 cegła tylnej ściany z prawej strony najważniejsze dane:

  • cegła komory spalania, cegła komory paleniskowej
  • wymiary (szer./dł./wys.) 213 mm x 240 mm x 25 mm
  • materiał skamol
  • 4-otworowy, dziurkowany
  • Producent zmienił dotychczasowy 1-częściowy panel tylny na 2-częściowy.
  • pozycja 3.8b na rysunku w rozłożeniu na części
Eigenschaften "Oranier Malmö 6 cegła tylnej ściany z prawej strony B"
Producent: Oranier
materiał: skamol
model: Malmö
typ części zamiennej: cegła tylnej ściany
typu: 6

Przedstawiciel UE

Oranier Heiztechnik GmbH
Oranier Straße 1
35708 Haiger
DE
info@oranier.com

Producent

Oranier


DE

Podobne produkty

Wyprzedane
Oranier Malmö 6 szyba wziernika
oryginał szyba wziernika do piec kominkowy Oranier Malmö 6 Producent zaprzestał produkcji tego artykułu. O ile dysponujemy resztką zapasów, ta część zamienna jest u nas dostępna. Oranier Malmö 6 szyba wziernika najważniejsze dane: szkło ceramiczne, wziernik wymiary (szer./dł./wys.) 348 mm x 445 mm x 4 mm materiał szkło kształt prostokątny odporny na działanie wysokiej temperatury pozycja 53 na rysunku w rozłożeniu na części
Numer produktu: 01000220

609,54 zł*¹

już niedostępne, zaprzestano produkcji

Oranier Malmö 6 moduł zmiany kierunku ciągu na dole B
oryginał moduł zmiany kierunku ciągu na dole B do piec kominkowy Oranier Malmö 6 rodzaj 4664-6, rodzaj 6646 W tym modelu występują różne okładziny ceglane. Proszę kierować się wysokością kamienia bocznego po prawej stronie. Doświadczenie pokazało, że ten kamień pasuje do komory spalania, której boczny kamień po prawej stronie ma wysokość 450 mm. Oranier Malmö 6 rodzaj 4664-6, rodzaj 6646 moduł zmiany kierunku ciągu na dole najważniejsze dane: moduł zmiany kierunku spalin, płyta odbojowa cegła z wermikulitu wymiary (szer./dł./wys.) 420 mm x 255 mm x 25 mm materiał wermikulit pozycja 3.4 na rysunku w rozłożeniu na części
Numer produktu: 01016087

187,70 zł*¹

Dostępny, czas dostawy: 4-6 dni

Oranier Malmö 6 ruszt
oryginał ruszt do piec kominkowy Oranier Malmö 6 Oranier Malmö 6 ruszt najważniejsze dane: ruszt żeliwny, ruszt komory spalania wymiary (szer./dł./wys.) 135 mm x 135 mm x 30 mm materiał odlew
Numer produktu: 01016347

246,73 zł*¹

Dostępny, czas dostawy: 4-6 dni

Tylko 2 w magazynie!
Oranier Malmö 6 moduł zmiany kierunku ciągu centralnie B
oryginał moduł zmiany kierunku ciągu centralnie B do piec kominkowy Oranier Malmö 6 W tym modelu występują różne okładziny ceglane. Proszę kierować się wysokością kamienia bocznego po prawej stronie. Doświadczenie pokazało, że ten kamień pasuje do komory spalania, której boczny kamień po prawej stronie ma wysokość 450 mm. Oranier Malmö 6 moduł zmiany kierunku ciągu centralnie najważniejsze dane: płyta odbojowa, moduł zmiany kierunku dymu wymiary (szer./dł./wys.) 420 mm x 177 mm x 25 mm materiał wermikulit pozycja 3.5 na rysunku w rozłożeniu na części
Numer produktu: 01016956

159,18 zł*¹

Dostępny, czas dostawy: 4-6 dni

Oranier Malmö 6 uszczelka szyby A
uszczelka szyby A do piec kominkowy Oranier Malmö 6 Dla tego modelu dostępne są różne uszczelnienia tarczy. Proszę zwrócić uwagę na rodzaj zastosowanego sznura uszczelniającego. (1-częściowy lub 2-częściowy) Ta uszczelka szklana jest jednoczęściowa. Oranier Malmö 6 uszczelka szyby najważniejsze dane: uszczelka szkła, sznur uszczelniający wymiary (szer./wys.) 2 mm x 10 mm długość 2,00 m samoprzylepny
Numer produktu: 01018422

Treść: 2 metry (53,67 zł*¹ / 1 metry)

107,33 zł*¹

Dostępny, czas dostawy: 4-6 dni

Oranier Malmö 6 uszczelka drzwi B
uszczelka drzwi B do piec kominkowy Oranier Malmö 6 Istnieją różne uszczelki drzwi do tego pieca. Proszę zwrócić uwagę na kształt istniejącej uszczelki. (Uszczelka płaska sznurowa, uszczelka sznurowa pusta i uszczelka sznurowa). Zalecamy stosowanie kleju i dodatkowego uszczelniacza, aby zapobiec strzępieniu się końcówek. Oranier Malmö 6 uszczelka drzwi najważniejsze dane: zawias drzwiowy, sznur uszczelniający uszczelka z drążonego sznurka długość 3,00 m średnica 9,5 mm
Numer produktu: 01019013

Treść: 3 metry (52,80 zł*¹ / 1 metry)

158,39 zł*¹

Dostępny, czas dostawy: 4-6 dni

Tylko 1 w magazynie!
Oranier Malmö 6 okładzina komory paleniskowej B
oryginał okładzina komory paleniskowej B do piec kominkowy Oranier Malmö 6 rodzaj 4664-6, rodzaj 6646 W tym modelu występują różne okładziny ceglane. Proszę zorientować się na wysokość kamienia bocznego po prawej stronie (450 mm). Producent zmienił dotychczasowy 1-częściowy panel tylny na 2-częściowy. 13-elementowy zestaw Oranier Malmö 6 rodzaj 4664-6, rodzaj 6646 okładzina komory paleniskowej najważniejsze dane: Wykładzina paleniska, cegły komory spalania Materiał wermikulitu Kamień podłogowy przód (133 x 78 x 30 mm), kamień podłogowy tył (133 x 58 x 30 mm) Kamień podłogowy lewy (118 x 276 x 30 mm), kamień podłogowy prawy (118 x 276 x 30 mm) Kamień boczny lewy (278 x 244/450 x 25 mm), kamień boczny prawy (278 x 244/450 x 25 mm) Ceglana ściana tylna lewa (213 x 240 x 25 mm), cegła tylnej ściany prawa (213 x 240 x 25 mm) Ugięcie linki poniżej (420 x 255 x 25 mm), ugięcie linki powyżej (195 x 135 x 25 mm) Odchylenie pociągu centralnego (420 x 177 x 25 mm) Ekranowanie poniżej (400 x 250 x 25 mm), ekranowanie powyżej (420 x 155 x 25 mm)
Numer produktu: 01019888

1 130,20 zł*¹

Dostępny, czas dostawy: 4-6 dni