Przejdź do głównej zawartości Przejdź do wyszukiwania Przejdź do głównej nawigacji
Darmowa wysyłka od 1.725 Złoty
Partner serwisowy dla ponad 50 producentów
Ponad 40 000 części zamiennych w asortymencie
+10 lat doświadczenia

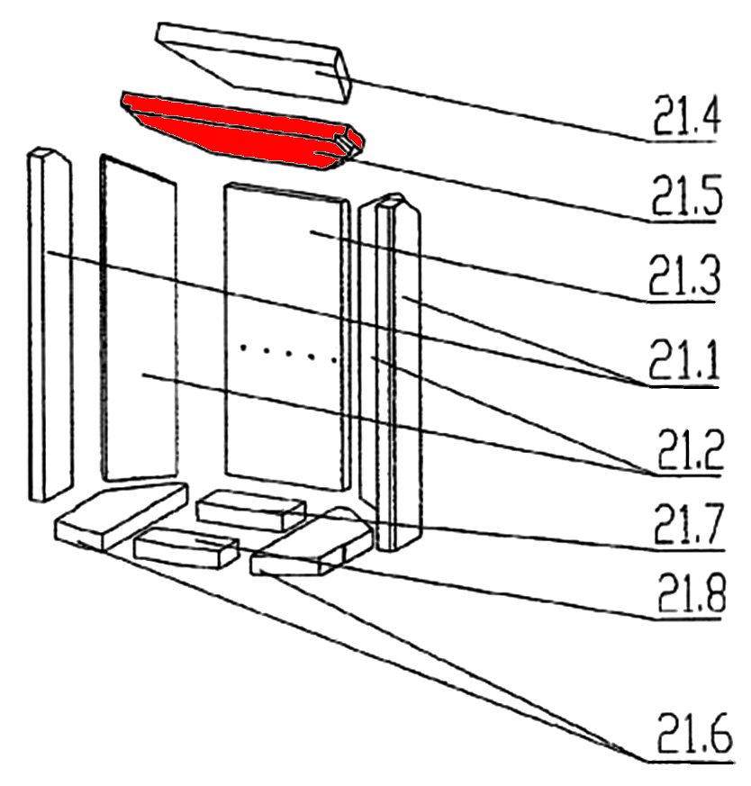
Oranier Pori 5 moduł zmiany kierunku ciągu na dole A

moduł zmiany kierunku ciągu /  moduł zmiany kierunku spalin / płyta odbojowa / moduł zmiany kierunku dymu / moduł zmiany kierunku

 

Informacje dot. produktu "Oranier Pori 5 moduł zmiany kierunku ciągu na dole A"

oryginał moduł zmiany kierunku ciągu na dole A do piec kominkowy Oranier Pori 5

  • W tym modelu występują różne okładziny ceglane. Proszę zwrócić uwagę na wymiary cegieł paleniska.
  • Ten kamień komory spalania jest umieszczony w palenisku zgodnie z doświadczeniem, którego cechami charakterystycznymi są następujące kamienie: Kamień dolny przedni (134 x 51 x 30 mm), kamień dolny lewy (93 x 157/267 x 30 mm), kamień boczny przedni lewy (86 x 450/480 x 25 mm).

Oranier Pori 5 moduł zmiany kierunku ciągu na dole najważniejsze dane:

  • płyta odbojowa, moduł zmiany kierunku dymu
  • wymiary (szer./dł./wys.) 350 mm x 159 mm x 25 mm
  • materiał wermikulit
  • pozycja 21.5 na rysunku w rozłożeniu na części
Eigenschaften "Oranier Pori 5 moduł zmiany kierunku ciągu na dole A"
Producent: Oranier
materiał: wermikulit
model: Pori
typ części zamiennej: moduł zmiany kierunku ciągu
typu: 5

Przedstawiciel UE

Oranier Heiztechnik GmbH
Oranier Straße 1
35708 Haiger
DE
info@oranier.com

Producent

Oranier


DE

Podobne produkty

Oranier Pori 5 szyba wziernika A
oryginał szyba wziernika A do piec kominkowy Oranier Pori 5 Istnieją różne panele widokowe dla Pori 5. Proszę zorientować się w wymiarach szyby i blokady Państwa kominka. nadaje się do modelu z zamkiem jednopunktowym (drzwi zamykają się w jednym punkcie na korpusie) Oranier Pori 5 szyba wziernika najważniejsze dane: szyba, szkło drzwi wymiary (szer./dł./wys.) 315 mm x 405 mm x 4 mm materiał szkło kształt prostokątny odporny na działanie wysokiej temperatury
Numer produktu: 01001396

609,54 zł*¹

Dostępny, czas dostawy: 4-6 dni

Oranier Pori 5 moduł zmiany kierunku ciągu na górze A
oryginał moduł zmiany kierunku ciągu na górze A do piec kominkowy Oranier Pori 5 rodzaj 4671 W tym modelu występują różne okładziny ceglane. Proszę zwrócić uwagę na wymiary cegieł paleniska. Ten kamień komory spalania jest umieszczony w palenisku zgodnie z doświadczeniem, którego cechami charakterystycznymi są następujące kamienie: Kamień dolny przedni (134x51x30 mm), kamień dolny lewy (93 x 157/267 x 30 mm), kamień boczny przedni lewy (86 x 450/480 x 25 mm). Oranier Pori 5 rodzaj 4671 moduł zmiany kierunku ciągu na górze najważniejsze dane: moduł zmiany kierunku spalin, moduł zmiany kierunku wymiary (szer./dł./wys.) 280 mm x 170 mm x 25 mm materiał wermikulit pozycja 21.4 na rysunku w rozłożeniu na części
Numer produktu: 01016116

187,70 zł*¹

Dostępny, czas dostawy: 4-6 dni

Tylko 8 w magazynie!
Oranier Pori 5 ruszt
oryginał ruszt do piec kominkowy Oranier Pori 5 Prosimy o wcześniejsze dopasowanie wymiarów Oranier Pori 5 ruszt najważniejsze dane: ruszt żeliwny, ruszt komory spalania wymiary (szer./dł./wys.) 135 mm x 135 mm x 30 mm materiał odlew
Numer produktu: 01016600

246,73 zł*¹

Dostępny, czas dostawy: 4-6 dni

Oranier Pori 5 uszczelka drzwi A
uszczelka drzwi A do piec kominkowy Oranier Pori 5 Uwaga, istnieją różne uszczelki drzwiczek do tego pieca. Proszę zapoznać się z zainstalowanym przewodem uszczelniającym. (płaska uszczelka sznurowa/ pusta uszczelka sznurowa) Zalecamy stosowanie kleju i dodatkowego uszczelniacza, aby zapobiec strzępieniu się końcówek. Oranier Pori 5 uszczelka drzwi najważniejsze dane: sznur uszczelniający, uszczelka uszczelka sznurkowa wymiary (szer./wys.) 10 mm x 6 mm długość 3,00 m
Numer produktu: 01018805

Treść: 3 metry (40,73 zł*¹ / 1 metry)

122,20 zł*¹

Dostępny, czas dostawy: 4-6 dni

Oranier Pori 5 okładzina komory paleniskowej A
oryginał okładzina komory paleniskowej A do piec kominkowy Oranier Pori 5 rodzaj 4671 W tym modelu występują różne okładziny ceglane. Proszę zwrócić uwagę na wymiary cegieł komory spalania. Cechą wyróżniającą tę okładzinę paleniska jest połączenie następujących kamieni: Kamień podłogowy przedni (134 x 51 x 30 mm), kamień podłogowy lewy (93 x 157/267 x 30 mm), kamień boczny przedni lewy (86 x 450/480 x 25 mm). 11-elementowy zestaw Oranier Pori 5 rodzaj 4671 okładzina komory paleniskowej najważniejsze dane: Materiał wermikulitu Kamień podłogowy z przodu (134 x 51 x 30 mm), kamień podłogowy z tyłu (69 x 135 x 30 mm) Płytka podłogowa prawa (93 x 157/267 x 30 mm), płytka podłogowa lewa (93 x 157/267 x 30 mm) Kamień boczny lewy przód (86 x 450/480 x 25 mm), kamień boczny lewy tył (102 x 404/450 x 25 mm) Kamień boczny prawy przód (86 x 450/480 x 25 mm), kamień boczny prawy tył (102 x 404/450 x 25 mm) Kamień tylnej ściany perforowany 5-krotnie (195 x 402 x 25 mm) Ugięcie linki u góry (175/280 x 170 x 25 mm), ugięcie linki u dołu (159 x 350 x 25 mm)
Numer produktu: 01019686

1 255,55 zł*¹

czas dostawy ok. 2-3 tygodnie

Oranier Pori 5 uszczelka szyby A
uszczelka szyby A do piec kominkowy Oranier Pori 5 nadaje się do modelu z zamkiem jednopunktowym (drzwi zamykają się w jednym punkcie na korpusie) Oranier Pori 5 uszczelka szyby najważniejsze dane: 2 części Uszczelka profilowa boczna / dolna Wymiary 10x2 mm Długość 2 m samoprzylepny Elementy 1.3 w widoku rozstrzelonym Uszczelka płaska powyżej Wymiary 17x2 mm Długość 1 m samoprzylepny Pozycja 1.4 w widoku rozstrzelonym
Numer produktu: 01023101

Treść: 3 metry (37,36 zł*¹ / 1 metry)

112,09 zł*¹

Dostępny, czas dostawy: 4-6 dni