Przejdź do głównej zawartości Przejdź do wyszukiwania Przejdź do głównej nawigacji
Darmowa wysyłka od 1.725 Złoty
Partner serwisowy dla ponad 50 producentów
Ponad 40 000 części zamiennych w asortymencie
+10 lat doświadczenia

Supra Texas 2 sprężyna drzwi komory paleniskowej, blokada

sprężyna /  sprężyna zamykająca / sprężyna naciągowa / sprężyna zamykająca

 

Informacje dot. produktu "Supra Texas 2 sprężyna drzwi komory paleniskowej, blokada"

oryginał sprężyna dla drzwi komory paleniskowej, blokada do piec kominkowy Supra Texas 2

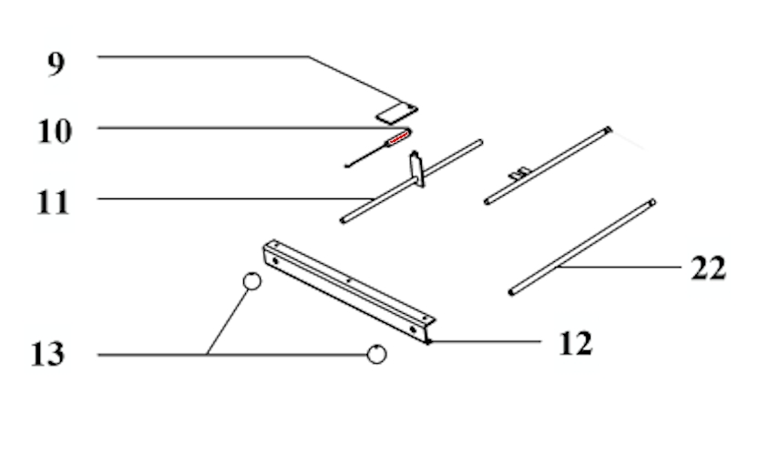
Supra Texas 2 sprężyna dla drzwi komory paleniskowej, blokada najważniejsze dane:

  • sprężyna zamykająca, sprężyna naciągowa
  • wymiary (dł.) 190 mm
  • średnica 14 mm
  • materiał drut ze stali sprężynowej
  • pozycja 10 na rysunku w rozłożeniu na części
Eigenschaften "Supra Texas 2 sprężyna drzwi komory paleniskowej, blokada"
Producent: Supra
materiał: drut ze stali sprężynowej
model: Texas
typ części zamiennej: sprężyna
typu: 2

Przedstawiciel UE

Supra SA
rue du Général Leclerc 28
67210 Obernai
FR
support@suprahelp.zendesk.com