Przejdź do głównej zawartości Przejdź do wyszukiwania Przejdź do głównej nawigacji
Darmowa wysyłka od 1.725 Złoty
Partner serwisowy dla ponad 50 producentów
Ponad 40 000 części zamiennych w asortymencie
+10 lat doświadczenia

Techfire UNI-1700 ruszt

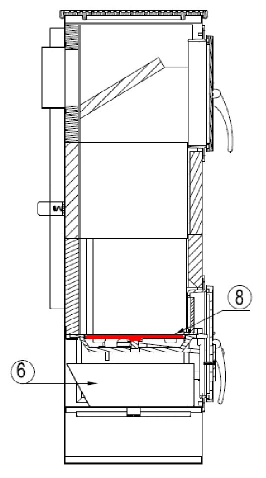
ruszt /  ruszt żeliwny / ruszt komory spalania

 

Informacje dot. produktu "Techfire UNI-1700 ruszt"

oryginał ruszt do piec kominkowy Techfire UNI-1700

Techfire UNI-1700 ruszt najważniejsze dane:

  • ruszt żeliwny, ruszt komory spalania
  • wymiary (wys.) 30 mm
  • średnica 195 mm
  • materiał odlew
  • pozycja 8 na rysunku w rozłożeniu na części
Eigenschaften "Techfire UNI-1700 ruszt"
Producent: Techfire
materiał: odlew
model: UNI-1700
typ części zamiennej: ruszt

Przedstawiciel UE

Techfire GmbH
ln Dürrfeldslach 11
66780 Rehlingen
DE
info@techfire.de

Podobne produkty

Tylko 1 w magazynie!
Techfire UNI-1700 szyba wziernika
oryginał szyba wziernika do piec kominkowy Techfire UNI-1700 Techfire UNI-1700 szyba wziernika najważniejsze dane: szyba, szkło drzwi wymiary (szer./dł./wys.) 210 mm x 420 mm x 4 mm materiał szkło kształt prostokątny odporny na działanie wysokiej temperatury
Numer produktu: 01001016

649,77 zł*¹

Dostępny, czas dostawy: 4-6 dni

Techfire UNI-1700 uszczelka szyby
uszczelka szyby do piec kominkowy Techfire UNI-1700 Do montażu zalecamy klej, który nanosi się na sznur uszczelniający w określonych miejscach i który jest dostępny u nas oddzielnie. Techfire UNI-1700 uszczelka szyby najważniejsze dane: sznur uszczelniający, taśma szkła uszczelka sznurkowa długość 1,40 m średnica 6 mm
Numer produktu: 01034552

Treść: 1.4 metry (88,83 zł*¹ / 1 metry)

124,36 zł*¹

Dostępny, czas dostawy: 4-6 dni

Tylko 9 w magazynie!
Techfire UNI-1700 uszczelka drzwi A
uszczelka drzwi A do piec kominkowy Techfire UNI-1700 Prosimy o wcześniejsze porównanie uszczelki z poprzednio zainstalowaną uszczelką, ponieważ istnieją różne uszczelki dla tego modelu. Polecamy spoiwa do uszczelek, które zapobiegają strzępieniu się końcówek. Oferujemy również tuleję uszczelniającą do optymalnego połączenia końcówek sznura uszczelniającego ze sobą. Techfire UNI-1700 uszczelka drzwi najważniejsze dane: sznur uszczelniający, uszczelka uszczelka sznurkowa długość 1,95 m średnica 13 mm
Numer produktu: 01034927

Treść: 1.95 metry (56,69 zł*¹ / 1 metry)

110,54 zł*¹

Dostępny, czas dostawy: 4-6 dni

Tylko 2 w magazynie!
Techfire UNI-1700 okładzina komory paleniskowej A
oryginał okładzina komory paleniskowej A do piec kominkowy Techfire UNI-1700 Odpowiedni dla modeli sprzed 2014 r. Dla tego artykułu producent wprowadził modyfikację. Górny lewy i prawy blok nie mają już skosów, aby utrzymać ugięcie liny. Skos został zastąpiony kołkami, które są wkładane w kamienie boczne, aby utrzymać ugięcie liny. 8-elementowy zestaw Techfire UNI-1700 okładzina komory paleniskowej najważniejsze dane: 8 sztuk Wykładzina paleniska, cegły komory spalania Materiał wermikulitu Kamień boczny po lewej stronie poniżej (250 x 186 x 30 mm), kamień boczny po prawej poniżej (250 x 186 x 30 mm) Kamień boczny lewy środek (250 x 186 x 30 mm), kamień boczny prawy środkowy (250 x 186 x 30 mm) Kamień boczny u góry po lewej (240 x 229 x 30 mm), kamień boczny u góry po prawej (240 x 229 x 30 mm) Kamień tylnej ściany poniżej (250 x 186 x 30 mm) Cegła tylna ściana powyżej (z otworem) (250 x 256 x 30 mm)
Numer produktu: 01036905

486,39 zł*¹

Dostępny, czas dostawy: 4-6 dni

Techfire UNI-1700 okładzina komory paleniskowej B
oryginał okładzina komory paleniskowej B do piec kominkowy Techfire UNI-1700 Odpowiedni dla modeli po 2014 roku 12-elementowy zestaw Techfire UNI-1700 okładzina komory paleniskowej najważniejsze dane: okładzina komory spalania, cegły komory paleniskowej
Numer produktu: 01071418

1 948,77 zł*¹

czas dostawy ok. 2-3 tygodnie