Przejdź do głównej zawartości Przejdź do wyszukiwania Przejdź do głównej nawigacji
Darmowa wysyłka od 1.725 Złoty
Partner serwisowy dla ponad 50 producentów
Ponad 40 000 części zamiennych w asortymencie
+10 lat doświadczenia

Wamsler Colorado cegła przednia na dole

cegła przednia /  cegła komory spalania / cegła komory paleniskowej

 

Informacje dot. produktu "Wamsler Colorado cegła przednia na dole"

oryginał cegła przednia na dole do piec kominkowy Wamsler Colorado rodzaj 10941

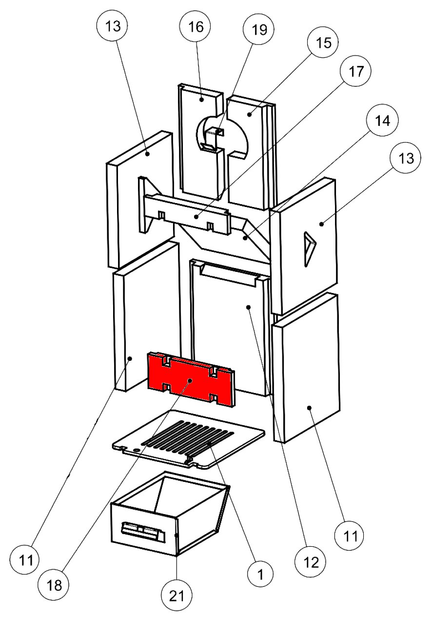
Wamsler Colorado rodzaj 10941 cegła przednia na dole najważniejsze dane:

  • cegła komory spalania, cegła komory paleniskowej
  • cegła szamotowa
  • wymiary (szer./dł./wys.) 88 mm x 240 mm x 30 mm
  • materiał szamot
  • pozycja 18 na rysunku w rozłożeniu na części
Eigenschaften "Wamsler Colorado cegła przednia na dole"
Producent: Wamsler
materiał: szamot
model: Colorado
typ części zamiennej: cegła przednia
typu 2: rodzaj 10941

Producent

Wamsler


DE

Podobne produkty

Wamsler Colorado ruszt
oryginał ruszt do piec kominkowy Wamsler Colorado rodzaj 10941 Wamsler Colorado rodzaj 10941 ruszt najważniejsze dane: ruszt żeliwny, ruszt komory spalania wymiary (szer./dł./wys.) 275 mm x 280 mm x 15 mm materiał odlew pozycja 1 na rysunku w rozłożeniu na części
Numer produktu: 01004166

384,25 zł*¹

czas dostawy ok. 5-6 tygodnie

Tylko 1 w magazynie!
Wamsler Colorado moduł zmiany kierunku ciągu
oryginał moduł zmiany kierunku ciągu do piec kominkowy Wamsler Colorado rodzaj 10941 Wamsler Colorado rodzaj 10941 moduł zmiany kierunku ciągu najważniejsze dane: moduł zmiany kierunku spalin, moduł zmiany kierunku dymu cegły szamotowe wymiary (szer./dł./wys.) 195 mm x 210 mm x 30 mm materiał szamot pozycja 14 na rysunku w rozłożeniu na części
Numer produktu: 01004174

122,12 zł*¹

Dostępny, czas dostawy: 4-6 dni

Tylko 1 w magazynie!
Wamsler Colorado szyba wziernika
oryginał szyba wziernika do piec kominkowy Wamsler Colorado rodzaj 10941 Wamsler Colorado rodzaj 10941 szyba wziernika najważniejsze dane: szyba, szkło drzwi wymiary (szer./dł./wys.) 180 mm x 317 mm x 4 mm materiał szkło kształt płaski pozycja 24 na rysunku w rozłożeniu na części
Numer produktu: 01004180

399,04 zł*¹

Dostępny, czas dostawy: 4-6 dni

Wamsler Colorado uszczelka drzwi
uszczelka drzwi do piec warsztatowy Wamsler Colorado rodzaj 10941 Do montażu wymagany jest klej ognioodporny. Oferujemy również dodatkowe wiązania uszczelniające, które zapobiegają strzępieniu się końcówek sznurka. Wamsler Colorado rodzaj 10941 uszczelka drzwi najważniejsze dane: sznur uszczelniający, uszczelka uszczelka sznurkowa długość 3,00 m średnica 12 mm
Numer produktu: 01014283

Treść: 3 metry (63,42 zł*¹ / 1 metry)

190,26 zł*¹

Dostępny, czas dostawy: 4-6 dni

Wamsler Colorado uszczelka szyby
uszczelka szyby do piec warsztatowy Wamsler Colorado rodzaj 10941 Do montażu zalecamy klej. Oferujemy również dodatkowe wiązania uszczelniające, które zapobiegają strzępieniu się końcówek sznurka. Wamsler Colorado rodzaj 10941 uszczelka szyby najważniejsze dane: sznur uszczelniający, uszczelka uszczelka sznurkowa długość 3,00 m średnica 6 mm
Numer produktu: 01014426

Treść: 3 metry (64,34 zł*¹ / 1 metry)

193,03 zł*¹

Dostępny, czas dostawy: 4-6 dni

Wamsler Colorado okładzina komory paleniskowej A
oryginał okładzina komory paleniskowej A do piec warsztatowy Wamsler Colorado rodzaj 10941 Odpowiedni dla modeli do 02.2018 r. Rozpoznawalny po tylnej ściance bez otworów. 10-elementowy zestaw Wamsler Colorado rodzaj 10941 okładzina komory paleniskowej najważniejsze dane: 10 kawałków Wykładzina paleniska, cegły komory spalania Materiał szamotowy Kamień boczny po lewej stronie poniżej (246 x 300 x 30 mm), kamień boczny po lewej stronie powyżej (268 x 246 x 30 mm) Kamień boczny tuż poniżej (246 x 300 x 30 mm), kamień boczny tuż nad (268 x 246 x 30 mm) Kamień tylnej ściany poniżej (240 x 300 x 30 mm) Cegła tylnej ściany, górna lewa (268 x 119 x 30 mm), tylna cegła, górna prawa (268 x 119 x 30 mm) Kamień przedni na dole (240 x 88 x 30 mm), kamień przedni na górze (240 x 50 x 30 mm) Ugięcie linki (210 x 195 x 30 mm) Pozycje 11, 12, 13, 14, 15, 16, 17, 18, 19 w widoku rozstrzelonym
Numer produktu: 01015707

1 290,86 zł*¹

czas dostawy ok. 5-6 tygodnie