Przejdź do głównej zawartości Przejdź do wyszukiwania Przejdź do głównej nawigacji
Darmowa wysyłka od 1.725 Złoty
Partner serwisowy dla ponad 50 producentów
Ponad 40 000 części zamiennych w asortymencie
+10 lat doświadczenia

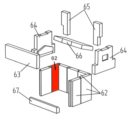
Wamsler Kamino 109-6 F cegła boczna z lewej strony na dole z tyłu

cegła boczna /  cegła komory spalania / cegła komory paleniskowej

 

Informacje dot. produktu "Wamsler Kamino 109-6 F cegła boczna z lewej strony na dole z tyłu"

oryginał cegła boczna z lewej strony na dole z tyłu do piec warsztatowy Wamsler Kamino 109-6 F

Wamsler Kamino 109-6 F cegła boczna z lewej strony na dole z tyłu najważniejsze dane:

  • cegła komory spalania, cegła komory paleniskowej
  • cegła szamotowa
  • wymiary (szer./dł./wys.) 134 mm x 240 mm x 35 mm
  • materiał szamot
  • pozycja 62 na rysunku w rozłożeniu na części
Eigenschaften "Wamsler Kamino 109-6 F cegła boczna z lewej strony na dole z tyłu"
Producent: Wamsler
materiał: szamot
model: rodzaj
typ części zamiennej: cegła boczna
typu: 109-6 F

Producent

Wamsler


DE

Podobne produkty

Tylko 3 w magazynie!
Wamsler Kamino 109-6 F ruszt
oryginał ruszt do piec kominkowy Wamsler Kamino 109-6 F Odpowiednie dla jednostek o mocy 6 KW Wamsler Kamino 109-6 F ruszt najważniejsze dane: ruszt żeliwny, ruszt komory spalania średnica 187 mm grubość 13 mm materiał odlew kształt okrągły kolor czarny Łożysko rusztu nie jest zawarte w zestawie pozycja 47 na rysunku w rozłożeniu na części
Numer produktu: 01010762

285,92 zł*

Dostępny, czas dostawy: 4-6 dni

Tylko 6 w magazynie!
Wamsler Kamino 109-6 F szyba wziernika
oryginał szyba wziernika do piec warsztatowy Wamsler Kamino 109-6 F Istnieją różne modele Wamsler Wo 109, proszę zwrócić uwagę na dokładną nazwę modelu i wymiary. Szyba inspekcyjna do drzwi grzewczych Wamsler Kamino 109-6 F szyba wziernika najważniejsze dane: szkło ceramiczne, wziernik wymiary (szer./dł./wys.) 305 mm x 211 mm x 4 mm odporny na działanie wysokiej temperatury
Numer produktu: 01011082

631,51 zł*

Dostępny, czas dostawy: 4-6 dni

Tylko 4 w magazynie!
Wamsler Kamino 109-6 F moduł zmiany kierunku ciągu na dole
oryginał moduł zmiany kierunku ciągu na dole do kuchenka Wamsler Kamino 109-6 F Wamsler Kamino 109-6 F moduł zmiany kierunku ciągu na dole najważniejsze dane: moduł zmiany kierunku dymu, moduł zmiany kierunku cegła szamotowa wymiary (szer./dł./wys.) 346 mm x 170 mm x 35 mm materiał szamot pozycja 66 na rysunku w rozłożeniu na części
Numer produktu: 01012733

114,68 zł*

Dostępny, czas dostawy: 4-6 dni