Przejdź do głównej zawartości Przejdź do wyszukiwania Przejdź do głównej nawigacji
Darmowa wysyłka od 1.725 Złoty
Partner serwisowy dla ponad 50 producentów
Ponad 40 000 części zamiennych w asortymencie
+10 lat doświadczenia

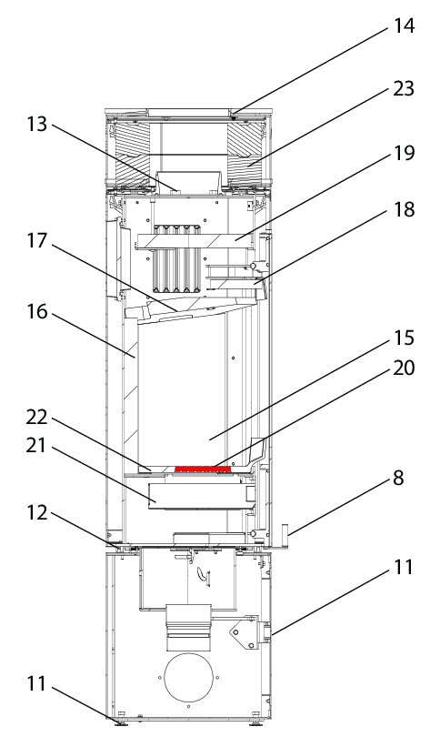
Wodtke Club 9 moduł zmiany kierunku ciągu centralnie

moduł zmiany kierunku ciągu /  moduł zmiany kierunku spalin / płyta odbojowa / moduł zmiany kierunku dymu / moduł zmiany kierunku

 

Informacje dot. produktu "Wodtke Club 9 moduł zmiany kierunku ciągu centralnie"

oryginał moduł zmiany kierunku ciągu centralnie do Wodtke Club 9

Wodtke Club 9 moduł zmiany kierunku ciągu centralnie najważniejsze dane:

  • moduł zmiany kierunku spalin, moduł zmiany kierunku dymu
  • wymiary (szer./dł./wys.) 280 mm x 196 mm x 20 mm
  • materiał wermikulit
  • pozycja 18 na rysunku w rozłożeniu na części
Eigenschaften "Wodtke Club 9 moduł zmiany kierunku ciągu centralnie"
Producent: Wodtke
materiał: wermikulit
model: CLUB
typ części zamiennej: moduł zmiany kierunku ciągu
typu: 9

Przedstawiciel UE

wodtke GmbH
Rittweg 55 - 57
D-72070 Tübingen-Hirschau
DE
info@wodtke.com

Podobne produkty

Wodtke Club 9 szyba wziernika
oryginał szyba wziernika do piec kominkowy Wodtke Club 9 Wodtke Club 9 szyba wziernika najważniejsze dane: szkło ceramiczne, szkło drzwi wymiary (szer./dł./wys.) 425 mm x 705 mm x 4 mm długość łuku 600 mm materiał szkło kształt odgięty odporny na działanie wysokiej temperatury 90° pod kątem pozycja 2 na rysunku w rozłożeniu na części
Numer produktu: 01001108

8 304,44 zł*¹

czas dostawy ok. 2-3 tygodnie

Wodtke Club moduł zmiany kierunku ciągu na dole
oryginał moduł zmiany kierunku ciągu na dole do piec kominkowy Wodtke Club 9 Wodtke Club 9 moduł zmiany kierunku ciągu na dole najważniejsze dane: moduł zmiany kierunku dymu, moduł zmiany kierunku wymiary (szer./dł./wys.) 280 mm x 280 mm x 30 mm materiał wermikulit pozycja 17 na rysunku w rozłożeniu na części
Numer produktu: 01001111

657,41 zł*¹

czas dostawy ok. 2-3 tygodnie

Wodtke Club 9 ruszt
oryginał ruszt do piec kominkowy Wodtke Club 9 KK95 Wodtke Club 9 KK95 ruszt najważniejsze dane: ruszt żeliwny, ruszt komory spalania materiał odlew pozycja 20 na rysunku w rozłożeniu na części
Numer produktu: 01001118

1 057,32 zł*¹

czas dostawy ok. 2-3 tygodnie

Wodtke Club 9 uszczelka drzwi
uszczelka drzwi do piec kominkowy Wodtke Club 9 Zalecamy stosowanie kleju uszczelniającego do tego uszczelnienia sznura. Do tej uszczelki zalecamy opaski uszczelniające, aby zapobiec strzępieniu się końcówek. Wodtke Club 9 uszczelka drzwi najważniejsze dane: zawias drzwiowy, uszczelka uszczelka sznurkowa długość 2,00 m średnica 14 mm
Numer produktu: 01035824

341,38 zł*¹

Dostępny, czas dostawy: 4-6 dni

Tylko 2 w magazynie!
Wodtke Club 9 uszczelka szyby
uszczelka szyby do piec kominkowy Wodtke Club 9 KK95 3-elementowy zestaw Wodtke Club 9 KK95 uszczelka szyby najważniejsze dane: Uszczelka szklana, sznurek uszczelniający Uszczelnienie sznurowe Długość 6 m Średnica 6 mm Klej 2 kawałki Zawartość w tubie 17 mm
Numer produktu: 01036356

328,22 zł*¹

Dostępny, czas dostawy: 4-6 dni