Przejdź do głównej zawartości Przejdź do wyszukiwania Przejdź do głównej nawigacji
Darmowa wysyłka od 1.725 Złoty
Partner serwisowy dla ponad 50 producentów
Ponad 40 000 części zamiennych w asortymencie
+10 lat doświadczenia

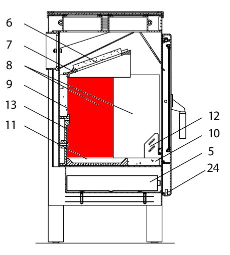
Wodtke Cookie cegła boczna z lewej strony z tyłu

cegła boczna /  cegła komory spalania / cegła komory paleniskowej

 

Informacje dot. produktu "Wodtke Cookie cegła boczna z lewej strony z tyłu"

oryginał cegła boczna z lewej strony z tyłu do piec kominkowy Wodtke Cookie H 01

Wodtke Cookie H 01 cegła boczna z lewej strony z tyłu najważniejsze dane:

  • cegła komory spalania, cegła komory paleniskowej
  • wymiary (szer./dł./wys.) 183 mm x 360 mm x 30 mm
  • materiał wermikulit
  • pozycja 8 na rysunku w rozłożeniu na części
Eigenschaften "Wodtke Cookie cegła boczna z lewej strony z tyłu"
Producent: Wodtke
materiał: wermikulit
model: Cookie
typ części zamiennej: cegła boczna
typu 2: H 01

Przedstawiciel UE

wodtke GmbH
Rittweg 55 - 57
D-72070 Tübingen-Hirschau
DE
info@wodtke.com

Podobne produkty

Tylko 4 w magazynie!
Wodtke Cookie moduł zmiany kierunku ciągu
oryginał moduł zmiany kierunku ciągu do piec kominkowy Wodtke Cookie H 01 Wodtke Cookie H 01 moduł zmiany kierunku ciągu najważniejsze dane: moduł zmiany kierunku spalin, płyta odbojowa wymiary (szer./dł./wys.) 235 mm x 209 mm x 20 mm materiał wermikulit kształt prostokątny pozycja 6 na rysunku w rozłożeniu na części
Numer produktu: 01001082

213,61 zł*¹

Dostępny, czas dostawy: 4-6 dni

Wodtke Cookie szyba wziernika
oryginał szyba wziernika do piec kominkowy Wodtke Cookie Wodtke Cookie szyba wziernika najważniejsze dane: szkło ceramiczne, wziernik wymiary (szer./dł./wys.) 350 mm x 410 mm x 5 mm materiał szkło odporny na działanie wysokiej temperatury pozycja 2 na rysunku w rozłożeniu na części
Numer produktu: 01001120

2 290,20 zł*¹

czas dostawy ok. 2-3 tygodnie

Wodtke Cookie ruszt
oryginał ruszt do piec kominkowy Wodtke Cookie H 01 Wodtke Cookie H 01 ruszt najważniejsze dane: ruszt żeliwny, ruszt komory spalania wymiary (szer./dł./wys.) 317 mm x 235 mm x 30 mm pozycja 11 na rysunku w rozłożeniu na części
Numer produktu: 01001128

829,08 zł*¹

Dostępny, czas dostawy: 4-6 dni

Wodtke Cookie uszczelka drzwi
uszczelka drzwi do piec kominkowy Wodtke Cookie Do montażu zalecamy klej, który poprzez selektywne stosowanie może mieć działanie wspomagające. Zalecamy również opaski uszczelniające, aby zapobiec strzępieniu się końcówek sznura uszczelniającego. Oferujemy również tuleje uszczelniające jako optyczną atrakcję. Wodtke Cookie uszczelka drzwi najważniejsze dane: zawias drzwiowy, sznur uszczelniający uszczelka sznurkowa długość 3,00 m średnica 10 mm
Numer produktu: 01035594

214,58 zł*¹

Dostępny, czas dostawy: 4-6 dni

Wodtke Cookie uszczelka szyby
uszczelka szyby do piec kominkowy Wodtke Cookie H 01 Wodtke Cookie H 01 uszczelka szyby najważniejsze dane: sznur uszczelniający, taśma szkła uszczelka płaska wymiary (szer./wys.) 8 mm x 2 mm długość 3,00 m samoprzylepny
Numer produktu: 01036234

Treść: 3 metry (45,19 zł*¹ / 1 metry)

135,58 zł*¹

Dostępny, czas dostawy: 4-6 dni