Przejdź do głównej zawartości Przejdź do wyszukiwania Przejdź do głównej nawigacji
Darmowa wysyłka od 1.725 Złoty
Partner serwisowy dla ponad 50 producentów
Ponad 40 000 części zamiennych w asortymencie
+10 lat doświadczenia

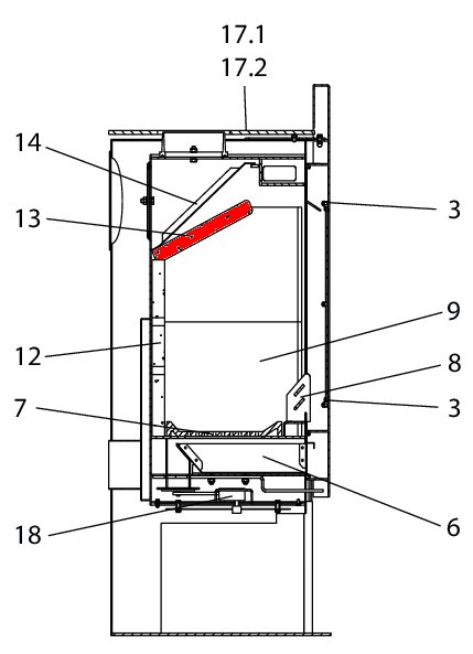
Wodtke Copa moduł zmiany kierunku ciągu na dole

moduł zmiany kierunku ciągu /  moduł zmiany kierunku spalin / płyta odbojowa / moduł zmiany kierunku dymu / moduł zmiany kierunku

 

Informacje dot. produktu "Wodtke Copa moduł zmiany kierunku ciągu na dole"

oryginał moduł zmiany kierunku ciągu na dole do piec kominkowy Wodtke Copa KK94

  • Producent zaprzestał produkcji tego artykułu. O ile dysponujemy resztką zapasów, ta część zamienna jest u nas dostępna.

Wodtke Copa KK94 moduł zmiany kierunku ciągu na dole najważniejsze dane:

  • płyta odbojowa, moduł zmiany kierunku dymu
  • wymiary (szer./dł./wys.) 280/400 mm x 250 mm x 30 mm
  • materiał wermikulit
  • pozycja 13 na rysunku w rozłożeniu na części
Eigenschaften "Wodtke Copa moduł zmiany kierunku ciągu na dole"
Producent: Wodtke
materiał: wermikulit
model: Copa
typ części zamiennej: moduł zmiany kierunku ciągu
typu 2: KK94

Przedstawiciel UE

wodtke GmbH
Rittweg 55 - 57
D-72070 Tübingen-Hirschau
DE
info@wodtke.com

Podobne produkty

Wodtke Copa szyba wziernika
oryginał szyba wziernika do piec kominkowy Wodtke Copa Wodtke Copa szyba wziernika najważniejsze dane: szkło drzwi, wziernik wymiary (szer./dł./wys.) 440 mm x 400 mm x 4 mm materiał szkło odporny na działanie wysokiej temperatury pozycja 2 na rysunku w rozłożeniu na części
Numer produktu: 01001086

3 360,19 zł*¹

czas dostawy ok. 2-3 tygodnie

Tylko 1 w magazynie!
Wodtke Copa ruszt
oryginał ruszt do piec kominkowy Wodtke Copa Wodtke Copa ruszt najważniejsze dane: ruszt żeliwny, ruszt komory spalania wymiary (szer./dł./wys.) 259/404 mm x 270 mm x 30 mm materiał odlew pozycja 7 na rysunku w rozłożeniu na części
Numer produktu: 01001087

968,56 zł*¹

Dostępny, czas dostawy: 4-6 dni

Wodtke Copa uszczelka drzwi
uszczelka drzwi do piec kominkowy Wodtke Copa Do montażu zalecamy klej, który poprzez selektywne stosowanie może mieć działanie wspomagające. Zalecamy również opaski uszczelniające, aby zapobiec strzępieniu się końcówek sznura uszczelniającego. Oferujemy również tuleje uszczelniające jako optyczną atrakcję. Wodtke Copa uszczelka drzwi najważniejsze dane: zawias drzwiowy, sznur uszczelniający uszczelka sznurkowa długość 3,00 m średnica 10 mm
Numer produktu: 01035595

214,58 zł*¹

Dostępny, czas dostawy: 4-6 dni

Wodtke Copa uszczelka szyby
uszczelka szyby do piec kominkowy Wodtke Copa KK94 Wodtke Copa KK94 uszczelka szyby najważniejsze dane: uszczelka szkła, taśma szkła uszczelka płaska wymiary (szer./wys.) 8 mm x 2 mm długość 3,00 m samoprzylepny
Numer produktu: 01036235

Treść: 3 metry (45,19 zł*¹ / 1 metry)

135,58 zł*¹

Dostępny, czas dostawy: 4-6 dni