Przejdź do głównej zawartości Przejdź do wyszukiwania Przejdź do głównej nawigacji
Darmowa wysyłka od 1.725 Złoty
Partner serwisowy dla ponad 50 producentów
Ponad 40 000 części zamiennych w asortymencie
+10 lat doświadczenia

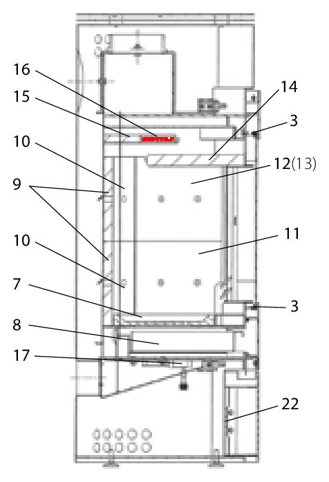
Wodtke Dance moduł zmiany kierunku ciągu na górze z przodu

moduł zmiany kierunku ciągu /  moduł zmiany kierunku spalin / płyta odbojowa / moduł zmiany kierunku dymu / moduł zmiany kierunku

 

Informacje dot. produktu "Wodtke Dance moduł zmiany kierunku ciągu na górze z przodu"

oryginał moduł zmiany kierunku ciągu na górze z przodu do piec kominkowy Wodtke Dance KK99

Wodtke Dance KK99 moduł zmiany kierunku ciągu na górze z przodu najważniejsze dane:

  • moduł zmiany kierunku spalin, moduł zmiany kierunku
  • wymiary (szer./dł./wys.) 325 mm x 97 mm x 22 mm
  • materiał wermikulit
  • kształt trapezowy
  • pozycja 16 na rysunku w rozłożeniu na części
Eigenschaften "Wodtke Dance moduł zmiany kierunku ciągu na górze z przodu"
Producent: Wodtke
kształt: trapezowy
materiał: wermikulit
model: Dance
typ części zamiennej: moduł zmiany kierunku ciągu
typu 2: KK99

Przedstawiciel UE

wodtke GmbH
Rittweg 55 - 57
D-72070 Tübingen-Hirschau
DE
info@wodtke.com

Podobne produkty

Wodtke Dance szyba wziernika
oryginał szyba wziernika do piec kominkowy Wodtke Dance Wodtke Dance szyba wziernika najważniejsze dane: szyba, szkło ceramiczne wymiary (szer./dł./wys.) 325 mm x 350 mm x 4 mm materiał szkło kształt płaski odporny na działanie wysokiej temperatury pozycja 2 na rysunku w rozłożeniu na części
Numer produktu: 01001114

6 817,93 zł*¹

czas dostawy ok. 2-3 tygodnie

Wodtke Dance ruszt
oryginał ruszt do piec kominkowy Wodtke Dance KK99 Wodtke Dance KK99 ruszt najważniejsze dane: ruszt żeliwny, ruszt komory spalania wymiary (szer./dł./wys.) 273 mm x 275 mm x 30 mm materiał odlew pozycja 7 na rysunku w rozłożeniu na części
Numer produktu: 01001115

1 020,25 zł*¹

Dostępny, czas dostawy: 4-6 dni

Wodtke Dance moduł zmiany kierunku ciągu na dole
oryginał moduł zmiany kierunku ciągu na dole do piec kominkowy Wodtke Dance Wodtke Dance moduł zmiany kierunku ciągu na dole najważniejsze dane: moduł zmiany kierunku dymu, moduł zmiany kierunku wymiary (szer./dł./wys.) 300 mm x 246 mm x 30 mm materiał wermikulit pozycja 14 na rysunku w rozłożeniu na części
Numer produktu: 01001123

1 574,27 zł*¹

czas dostawy ok. 2-3 tygodnie

Wodtke Dance uszczelka drzwi
uszczelka drzwi do piec kominkowy Wodtke Dance Do montażu zalecamy klej, który poprzez selektywne stosowanie może mieć działanie wspomagające. Zalecamy również opaski uszczelniające, aby zapobiec strzępieniu się końcówek sznura uszczelniającego. Oferujemy również tuleje uszczelniające jako optyczną atrakcję. Wodtke Dance uszczelka drzwi najważniejsze dane: sznur uszczelniający, uszczelka uszczelka sznurkowa długość 3,00 m średnica 10 mm
Numer produktu: 01035597

214,58 zł*¹

Dostępny, czas dostawy: 4-6 dni

Wodtke Dance uszczelka szyby
uszczelka szyby do piec kominkowy Wodtke Dance KK99 Wodtke Dance KK99 uszczelka szyby najważniejsze dane: sznur uszczelniający, uszczelka uszczelka płaska wymiary (szer./wys.) 8 mm x 2 mm długość 3,00 m samoprzylepny
Numer produktu: 01036236

Treść: 3 metry (45,19 zł*¹ / 1 metry)

135,58 zł*¹

Dostępny, czas dostawy: 4-6 dni