Przejdź do głównej zawartości Przejdź do wyszukiwania Przejdź do głównej nawigacji
Darmowa wysyłka od 1.725 Złoty
Partner serwisowy dla ponad 50 producentów
Ponad 40 000 części zamiennych w asortymencie
+10 lat doświadczenia

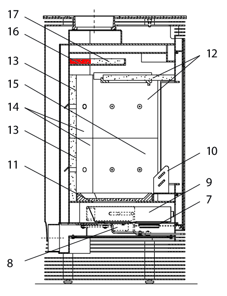
Wodtke Donna moduł zmiany kierunku ciągu na górze z tyłu

moduł zmiany kierunku ciągu /  moduł zmiany kierunku spalin / płyta odbojowa / moduł zmiany kierunku dymu / moduł zmiany kierunku

 

Informacje dot. produktu "Wodtke Donna moduł zmiany kierunku ciągu na górze z tyłu"

oryginał moduł zmiany kierunku ciągu na górze z tyłu do piec kominkowy Wodtke Donna KK55

Wodtke Donna KK55 moduł zmiany kierunku ciągu na górze z tyłu najważniejsze dane:

  • moduł zmiany kierunku spalin, płyta odbojowa
  • wymiary (szer./dł./wys.) 164/325 mm x 98 mm x 22 mm
  • materiał wermikulit
  • pozycja 16 na rysunku w rozłożeniu na części
Eigenschaften "Wodtke Donna moduł zmiany kierunku ciągu na górze z tyłu"
Producent: Wodtke
materiał: wermikulit
model: Donna
typ części zamiennej: moduł zmiany kierunku ciągu
typu 2: KK55

Przedstawiciel UE

wodtke GmbH
Rittweg 55 - 57
D-72070 Tübingen-Hirschau
DE
info@wodtke.com

Podobne produkty

Tylko 1 w magazynie!
Wodtke Donna szyba wziernika
oryginał szyba wziernika do piec kominkowy Wodtke Donna Producent zaprzestał produkcji tego artykułu. O ile dysponujemy resztką zapasów, ta część zamienna jest u nas dostępna. Wodtke Donna szyba wziernika najważniejsze dane: szyba, szkło drzwi wymiary (szer./dł./wys.) 347 mm x 692 mm x 4 mm długość łuku 390 mm materiał szkło odporny na działanie wysokiej temperatury pozycja 3 na rysunku w rozłożeniu na części
Numer produktu: 01001145

9 069,14 zł*¹

Dostępny, czas dostawy: 4-6 dni

Wodtke Donna uszczelka drzwi
uszczelka drzwi do piec kominkowy Wodtke Donna Do montażu zalecamy klej, który poprzez selektywne stosowanie może mieć działanie wspomagające. Zalecamy również opaski uszczelniające, aby zapobiec strzępieniu się końcówek sznura uszczelniającego. Oferujemy również tuleje uszczelniające jako optyczną atrakcję. Wodtke Donna uszczelka drzwi najważniejsze dane: zawias drzwiowy, uszczelka uszczelka sznurkowa długość 3,00 m średnica 10 mm
Numer produktu: 01035604

214,58 zł*¹

Dostępny, czas dostawy: 4-6 dni

Wodtke Donna uszczelka szyby
uszczelka szyby do piec kominkowy Wodtke Donna KK55 Wodtke Donna KK55 uszczelka szyby najważniejsze dane: uszczelka szkła, sznur uszczelniający uszczelka płaska wymiary (szer./wys.) 8 mm x 2 mm długość 6,00 m samoprzylepny
Numer produktu: 01036224

Treść: 6 metry (45,19 zł*¹ / 1 metry)

271,16 zł*¹

Dostępny, czas dostawy: 4-6 dni

Wodtke Donna ruszt
oryginał ruszt do piec kominkowy Wodtke Donna Wodtke Donna ruszt najważniejsze dane: ruszt żeliwny, ruszt komory spalania wymiary (szer./dł./wys.) 275 mm x 273 mm x 30 mm materiał odlew pozycja 13 na rysunku w rozłożeniu na części
Numer produktu: 01037060

1 020,25 zł*¹

Dostępny, czas dostawy: 4-6 dni

Wyprzedane
Wodtke Donna moduł zmiany kierunku ciągu na dole zestwa
oryginał moduł zmiany kierunku ciągu na dole zestwa do piec kominkowy Wodtke Donna Producent zaprzestał produkcji tego artykułu. O ile dysponujemy resztką zapasów, ta część zamienna jest u nas dostępna. Zestaw ten zastępuje poprzednią żeliwną ramę z ugięciem pociągu w dolnej części. (obecnie jest inaczej skonstruowany) 3-elementowy zestaw Wodtke Donna moduł zmiany kierunku ciągu na dole najważniejsze dane: Cegły paleniskowe, cegły paleniskowe Materiał wermikulitu perforowany kamień u góry po lewej stronie perforowany kamień boczny górny prawy Ugięcie pociągu poniżej
Numer produktu: 01037936

2 421,88 zł*¹

już niedostępne, zaprzestano produkcji