Przejdź do głównej zawartości Przejdź do wyszukiwania Przejdź do głównej nawigacji
Darmowa wysyłka od 1.725 Złoty
Partner serwisowy dla ponad 50 producentów
Ponad 40 000 części zamiennych w asortymencie
+10 lat doświadczenia

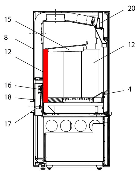
Wodtke Ego cegła tylnej ściany z prawej strony

cegła tylnej ściany /  cegła komory spalania / cegła komory paleniskowej

 

Informacje dot. produktu "Wodtke Ego cegła tylnej ściany z prawej strony"

oryginał cegła tylnej ściany z prawej strony do piec kominkowy Wodtke Ego

Wodtke Ego cegła tylnej ściany z prawej strony najważniejsze dane:

  • cegła komory spalania, cegła komory paleniskowej
  • cegła szamotowa
  • wymiary (szer./dł./wys.) 125 mm x 363 mm x 30 mm
  • materiał szamot
  • pozycja 12 na rysunku w rozłożeniu na części
Eigenschaften "Wodtke Ego cegła tylnej ściany z prawej strony"
Producent: Wodtke
materiał: szamot
model: EGO
typ części zamiennej: cegła tylnej ściany

Przedstawiciel UE

wodtke GmbH
Rittweg 55 - 57
D-72070 Tübingen-Hirschau
DE
info@wodtke.com

Podobne produkty

Wodtke Ego moduł zmiany kierunku ciągu
oryginał moduł zmiany kierunku ciągu do piec kominkowy Wodtke Ego KK40-2 Wodtke Ego KK40-2 moduł zmiany kierunku ciągu najważniejsze dane: płyta odbojowa, moduł zmiany kierunku wymiary (szer./dł./wys.) 370 mm x 295 mm x 67 mm materiał stal pozycja 15 na rysunku w rozłożeniu na części
Numer produktu: 01001134

899,30 zł*

czas dostawy ok. 2-3 tygodnie

Wodtke Ego szyba wziernika
oryginał szyba wziernika do piec kominkowy Wodtke Ego KK40-2 Wodtke Ego KK40-2 szyba wziernika najważniejsze dane: szkło drzwi, wziernik odporny na działanie wysokiej temperatury obramowany na czarno pozycja 1 na rysunku w rozłożeniu na części
Numer produktu: 01001155

4 163,94 zł*

czas dostawy ok. 2-3 tygodnie

Wodtke Ego uszczelka drzwi
uszczelka drzwi do piec kominkowy Wodtke Ego Zalecamy stosowanie kleju uszczelniającego do tego uszczelnienia sznura. Do tej uszczelki zalecamy opaski uszczelniające, aby zapobiec strzępieniu się końcówek. Wodtke Ego uszczelka drzwi najważniejsze dane: sznur uszczelniający, uszczelka uszczelka sznurkowa długość 2,00 m średnica 14 mm
Numer produktu: 01035820

341,38 zł*

Dostępny, czas dostawy: 4-6 dni

Tylko 4 w magazynie!
Wodtke Ego uszczelka szyby
uszczelka szyby do piec kominkowy Wodtke Ego KK40-2 Do montażu wymagany jest klej. Do tej uszczelki zalecamy opaski uszczelniające, aby zapobiec strzępieniu się końcówek. 3-elementowy zestaw Wodtke Ego KK40-2 uszczelka szyby najważniejsze dane: 3 kawałki Uszczelnienie sznurowe Uszczelka podkładki na zewnątrz Montowany między oknem a ościeżnicą. Uszczelnienie sznurowe Średnica 8 mm Długość 3 m Uszczelka podkładki wewnątrz Montowany jest w wewnętrznej części drzwi tak, aby popiół nie mógł utknąć w przejściu między ościeżnicą a szybą. Uszczelnienie sznurowe Średnica 4 mm Długość 1 m Zakres dostawy 2 sztuki
Numer produktu: 01036219

288,71 zł*

Dostępny, czas dostawy: 4-6 dni

Tylko 2 w magazynie!
Wodtke Ego ruszt
oryginał ruszt do piec kominkowy Wodtke Ego KK40-2 Wodtke Ego KK40-2 ruszt najważniejsze dane: ruszt żeliwny, ruszt komory spalania wymiary (szer./dł./wys.) 150 mm x 210 mm x 30 mm grubość 15 mm materiał odlew kształt prostokątny pozycja 11 na rysunku w rozłożeniu na części
Numer produktu: 01037221

466,23 zł*

Dostępny, czas dostawy: 4-6 dni