Przejdź do głównej zawartości Przejdź do wyszukiwania Przejdź do głównej nawigacji
Darmowa wysyłka od 1.725 Złoty
Partner serwisowy dla ponad 50 producentów
Ponad 40 000 części zamiennych w asortymencie
+10 lat doświadczenia

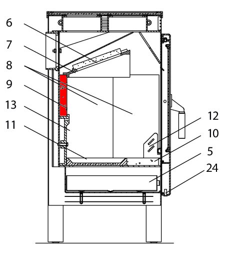
Wodtke H 01 cegła tylnej ściany na górze z lewej strony

cegła tylnej ściany /  cegła komory spalania / cegła komory paleniskowej

 

Informacje dot. produktu "Wodtke H 01 cegła tylnej ściany na górze z lewej strony"

oryginał cegła tylnej ściany na górze z lewej strony do piec kominkowy Wodtke H 01

Wodtke H 01 cegła tylnej ściany na górze z lewej strony najważniejsze dane:

  • cegła komory spalania, cegła komory paleniskowej
  • cegły z wermikulitu
  • wymiary (szer./dł./wys.) 183 mm x 164 mm x 30 mm
  • materiał wermikulit
  • pozycja 9 na rysunku w rozłożeniu na części
Eigenschaften "Wodtke H 01 cegła tylnej ściany na górze z lewej strony"
Producent: Wodtke
materiał: wermikulit
model: H
typ części zamiennej: cegła tylnej ściany
typu: 01

Przedstawiciel UE

wodtke GmbH
Rittweg 55 - 57
D-72070 Tübingen-Hirschau
DE
info@wodtke.com

Podobne produkty

Wodtke H 01 uszczelka drzwi
uszczelka drzwi do piec kominkowy Wodtke H 01 Do montażu zalecamy klej, który poprzez selektywne stosowanie może mieć działanie wspomagające. Zalecamy również opaski uszczelniające, aby zapobiec strzępieniu się końcówek sznura uszczelniającego. Oferujemy również tuleje uszczelniające jako optyczną atrakcję. Wodtke H 01 uszczelka drzwi najważniejsze dane: zawias drzwiowy, uszczelka uszczelka sznurkowa długość 3,00 m średnica 10 mm
Numer produktu: 01035698

214,58 zł*¹

Dostępny, czas dostawy: 4-6 dni

Wodtke H 01 ruszt
oryginał ruszt do piec kominkowy Wodtke H 01 Wodtke H 01 ruszt najważniejsze dane: ruszt żeliwny, ruszt komory spalania wymiary (szer./dł./wys.) 317 mm x 235 mm x 30 mm materiał odlew pozycja 11 na rysunku w rozłożeniu na części
Numer produktu: 01037041

829,08 zł*¹

Dostępny, czas dostawy: 4-6 dni

Wodtke H 01 szyba wziernika
oryginał szyba wziernika do piec kominkowy Wodtke H 01 Wodtke H 01 szyba wziernika najważniejsze dane: szkło ceramiczne, wziernik wymiary (szer./dł./wys.) 350 mm x 410 mm x 5 mm materiał szkło odporny na działanie wysokiej temperatury
Numer produktu: 01037123

1 824,94 zł*¹

czas dostawy ok. 2-3 tygodnie

Tylko 4 w magazynie!
Wodtke H 01 moduł zmiany kierunku ciągu
oryginał moduł zmiany kierunku ciągu do piec kominkowy Wodtke H 01 Wodtke H 01 moduł zmiany kierunku ciągu najważniejsze dane: płyta odbojowa, moduł zmiany kierunku dymu wymiary (szer./dł./wys.) 235 mm x 209 mm x 20 mm materiał wermikulit pozycja 6 na rysunku w rozłożeniu na części
Numer produktu: 01037578

213,61 zł*¹

Dostępny, czas dostawy: 4-6 dni

Wodtke H 01 uszczelka szyby
uszczelka szyby do piec kominkowy Wodtke H 01 Wodtke H 01 uszczelka szyby najważniejsze dane: sznur uszczelniający, taśma szkła uszczelka płaska wymiary (szer./wys.) 8 mm x 2 mm długość 3,00 m samoprzylepny
Numer produktu: 01039917

Treść: 3 metry (45,19 zł*¹ / 1 metry)

135,58 zł*¹

Dostępny, czas dostawy: 4-6 dni