Przejdź do głównej zawartości Przejdź do wyszukiwania Przejdź do głównej nawigacji
Darmowa wysyłka od 1.725 Złoty
Partner serwisowy dla ponad 50 producentów
Ponad 40 000 części zamiennych w asortymencie
+10 lat doświadczenia

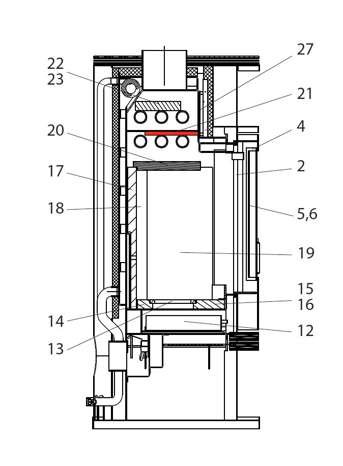
Wodtke Momo moduł zmiany kierunku ciągu centralnie z lewej strony

moduł zmiany kierunku ciągu /  moduł zmiany kierunku spalin / płyta odbojowa / moduł zmiany kierunku dymu / moduł zmiany kierunku

 

Informacje dot. produktu "Wodtke Momo moduł zmiany kierunku ciągu centralnie z lewej strony"

oryginał moduł zmiany kierunku ciągu centralnie z lewej strony do piec kominkowy Wodtke Momo KK50-10 RW

Wodtke Momo KK50-10 RW moduł zmiany kierunku ciągu centralnie z lewej strony najważniejsze dane:

  • moduł zmiany kierunku spalin, moduł zmiany kierunku
  • materiał stal
  • pozycja 21 na rysunku w rozłożeniu na części
Eigenschaften "Wodtke Momo moduł zmiany kierunku ciągu centralnie z lewej strony"
Producent: Wodtke
materiał: stal
model: Momo
typ części zamiennej: moduł zmiany kierunku ciągu
typu 2: KK50-10 RW

Przedstawiciel UE

wodtke GmbH
Rittweg 55 - 57
D-72070 Tübingen-Hirschau
DE
info@wodtke.com

Podobne produkty

Wodtke Momo szyba wziernika
oryginał szyba wziernika do piec kominkowy Wodtke Momo Wodtke Momo szyba wziernika najważniejsze dane: szkło drzwi, wziernik wymiary (szer./dł./wys.) 262 mm x 450 mm x 4 mm długość łuku 273 mm materiał szkło odporny na działanie wysokiej temperatury pozycja 2 na rysunku w rozłożeniu na części
Numer produktu: 01000075

2 438,46 zł*

czas dostawy ok. 2-3 tygodnie

Tylko 2 w magazynie!
Wodtke Momo ruszt
oryginał ruszt do piec kominkowy Wodtke Momo KK50-10 RW Wodtke Momo KK50-10 RW ruszt najważniejsze dane: ruszt żeliwny, ruszt komory spalania wymiary (szer./dł./wys.) 150 mm x 210 mm x 30 mm grubość 15 mm materiał odlew kształt prostokątny pozycja 8 na rysunku w rozłożeniu na części
Numer produktu: 01000082

466,23 zł*

Dostępny, czas dostawy: 4-6 dni

Wodtke Momo moduł zmiany kierunku ciągu na dole
oryginał moduł zmiany kierunku ciągu na dole do piec kominkowy Wodtke Momo KK50-10 RW Wodtke Momo KK50-10 RW moduł zmiany kierunku ciągu na dole najważniejsze dane: moduł zmiany kierunku spalin, moduł zmiany kierunku dymu wymiary (szer./dł./wys.) 224 mm x 328 mm x 30 mm materiał wermikulit
Numer produktu: 01013713

411,61 zł*

Dostępny, czas dostawy: 4-6 dni

Wodtke Momo uszczelka drzwi
uszczelka drzwi do piec kominkowy Wodtke Momo Do montażu zalecamy klej, który poprzez selektywne stosowanie może mieć działanie wspomagające. Zalecamy również opaski uszczelniające, aby zapobiec strzępieniu się końcówek sznura uszczelniającego. Oferujemy również tuleje uszczelniające jako optyczną atrakcję. Wodtke Momo uszczelka drzwi najważniejsze dane: sznur uszczelniający, uszczelka uszczelka sznurkowa długość 3,00 m średnica 12 mm
Numer produktu: 01035749

221,41 zł*

Dostępny, czas dostawy: 4-6 dni

Wodtke Momo uszczelka szyby
uszczelka szyby do piec kominkowy Wodtke Momo KK50-10 RW Wodtke Momo KK50-10 RW uszczelka szyby najważniejsze dane: uszczelka, taśma szkła uszczelka płaska wymiary (szer./wys.) 8 mm x 2 mm długość 3,00 m samoprzylepny
Numer produktu: 01036251

Treść: 3 metry (45,19 zł* / 1 metry)

135,58 zł*

Dostępny, czas dostawy: 4-6 dni