Przejdź do głównej zawartości Przejdź do wyszukiwania Przejdź do głównej nawigacji
Darmowa wysyłka od 1.725 Złoty
Partner serwisowy dla ponad 50 producentów
Ponad 40 000 części zamiennych w asortymencie
+10 lat doświadczenia

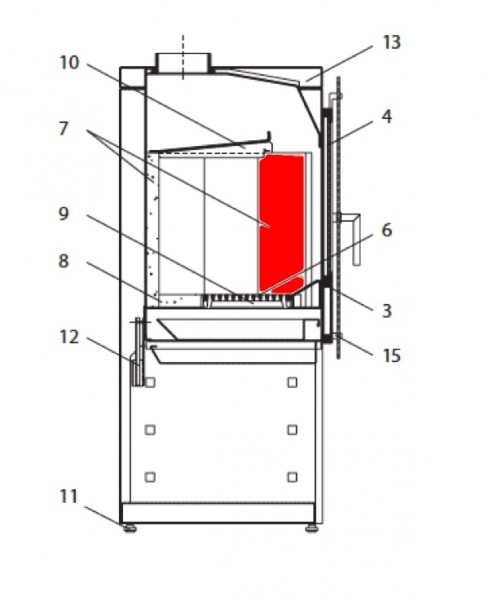
Wodtke Tabo cegła boczna z lewej strony

cegła boczna /  cegła komory spalania / cegła komory paleniskowej

 

Informacje dot. produktu "Wodtke Tabo cegła boczna z lewej strony"

oryginał cegła boczna z lewej strony do piec kominkowy Wodtke Tabo

Wodtke Tabo cegła boczna z lewej strony najważniejsze dane:

  • cegła komory spalania, cegła komory paleniskowej
  • cegła szamotowa
  • wymiary (szer./dł./wys.) 125 mm x 363 mm x 30 mm
  • materiał szamot
  • pozycja 12 na rysunku w rozłożeniu na części
Eigenschaften "Wodtke Tabo cegła boczna z lewej strony"
Producent: Wodtke
materiał: szamot
model: Tabo
typ części zamiennej: cegła boczna

Przedstawiciel UE

wodtke GmbH
Rittweg 55 - 57
D-72070 Tübingen-Hirschau
DE
info@wodtke.com

Podobne produkty

Wodtke Tabo moduł zmiany kierunku ciągu
oryginał moduł zmiany kierunku ciągu do piec kominkowy Wodtke Tabo Wodtke Tabo moduł zmiany kierunku ciągu najważniejsze dane: moduł zmiany kierunku spalin, moduł zmiany kierunku wymiary (szer./dł./wys.) 235 mm x 287 mm x 5 mm materiał stal pozycja 10 na rysunku w rozłożeniu na części
Numer produktu: 01000447

741,29 zł*¹

czas dostawy ok. 2-3 tygodnie

Wyprzedane
Wodtke Tabo szyba wziernika
oryginał szyba wziernika do piec kominkowy Wodtke Tabo Producent zaprzestał produkcji tego artykułu. O ile dysponujemy resztką zapasów, ta część zamienna jest u nas dostępna. to nie jest szkło dekoracyjne Wodtke Tabo szyba wziernika najważniejsze dane: szyba, szkło ceramiczne wymiary (szer./dł./wys.) 260 mm x 370 mm x 4 mm materiał szkło kształt płaski odporny na działanie wysokiej temperatury pozycja 2 na rysunku w rozłożeniu na części
Numer produktu: 01000459

598,89 zł*¹

już niedostępne, zaprzestano produkcji

Wodtke Tabo uszczelka drzwi
uszczelka drzwi do piec kominkowy Wodtke Tabo Do montażu zalecamy klej, który poprzez selektywne stosowanie może mieć działanie wspomagające. Zalecamy również opaski uszczelniające, aby zapobiec strzępieniu się końcówek sznura uszczelniającego. Oferujemy również tuleje uszczelniające jako optyczną atrakcję. Wodtke Tabo uszczelka drzwi najważniejsze dane: sznur uszczelniający, uszczelka uszczelka sznurkowa długość 3,00 m średnica 12 mm
Numer produktu: 01035730

221,41 zł*¹

Dostępny, czas dostawy: 4-6 dni

Wodtke Tabo uszczelka szyby
uszczelka szyby do piec kominkowy Wodtke Tabo KK20 Wodtke Tabo KK20 uszczelka szyby najważniejsze dane: uszczelka szkła, taśma szkła uszczelka płaska wymiary (szer./wys.) 8 mm x 2 mm długość 3,00 m samoprzylepny
Numer produktu: 01036262

Treść: 3 metry (45,19 zł*¹ / 1 metry)

135,58 zł*¹

Dostępny, czas dostawy: 4-6 dni

Tylko 2 w magazynie!
Wodtke Tabo ruszt
oryginał ruszt do piec kominkowy Wodtke Tabo Wodtke Tabo ruszt najważniejsze dane: ruszt żeliwny, ruszt komory spalania wymiary (szer./dł./wys.) 150 mm x 210 mm x 30 mm grubość 15 mm materiał odlew kształt prostokątny pozycja 6 na rysunku w rozłożeniu na części
Numer produktu: 01037192

466,23 zł*¹

Dostępny, czas dostawy: 4-6 dni